

1、单选题:
(单选)以如下哪项为基准的压强称为绝对压强( )
选项:
A: 当地大气压
B: 标准大气压
C: 绝对0压强
D: 那三个都不是
答案: 【 绝对0压强】
2、单选题:
(单选)如下关于定态流动和非定态流动的说法,正确的是( )
选项:
A: 定态流动时,流体内各处的流动参数均相同
B: 定态流动时,流体内各处的流动参数均不随时间而变化
C: 非定态流动时,流体内各处的流动参数都不相同
D: 非定态流动时,流体流量随时间的推移而减小
答案: 【 定态流动时,流体内各处的流动参数均不随时间而变化】
3、单选题:
(单选)质量流量一定时,常温常压下在管内流动的气体的平均流速与其在标准状态下的平均流速相比( )
选项:
A: 常温、常压下的较高
B: 标准状态下的高
C: 两者相同
D: 无法确定
答案: 【 常温、常压下的较高】
4、单选题:
(单选)摩尔质量为32kg/kmol、压强为30kPa(表压)、温度为35摄氏度的某理想气体,其密度为( )kg/m3
选项:
A: 0.375
B: 1.20
C: 1.64
D: 14.44
答案: 【 1.64】
5、单选题:
(单选)“管内各截面处的体积流量相等”,此话适用于( )
选项:
A: 定态流动
B: 管内流体流动的任何情形
C: 不可压缩流体流动
D: 不可压缩流体定态流动
答案: 【 不可压缩流体定态流动】
6、单选题:
(单选)直径为
57
3.5mm的细管接
108
4mm的粗管,若不可压缩流体在细管内的流速为4m/s,则其在粗管内的流速为( )
选项:
A: 1m/s
B: 2m/s
C: 4m/s
D: 0.5m/s
答案: 【 1m/s】
1、单选题:
(单选)如图所示,忽略机械能损失,定态流动时,流动系统中压强最低处为( )*

选项:
A: 1-1
B: 2-2
C: 3-3
D: 4-4
答案: 【 4-4】
2、单选题:
(单选)如图所示,忽略机械能损失,定态流动时,流动系统中压强最高处为( )*

选项:
A: 1-1
B: 2-2
C: 3-3
D: 4-4
答案: 【 2-2】
3、单选题:
(单选)对于如图所示的用离心泵送水的流动系统,如下说法错误的是( )

选项:
A: A处管内压强一定低于大气压
B: A处管内压强随流量的增大而减小
C: 1-1截面处的压强一定高于大气压
D: 1-1截面处的压强一定高于A处
答案: 【 1-1截面处的压强一定高于大气压】
4、单选题:
(单选)如图所示,流量一定时,随着管子倾斜度的减小(即h减小),p1-p2( )*

选项:
A: 增大
B: 减小
C: 不变
D: 无法确定
答案: 【 减小】
5、单选题:
(单选)如图所示,U形管的两支管内相界面( )*

选项:
A: 一样高
B: 左高右低
C: 左低右高
D: >无法确定
答案: 【 左低右高】
6、多选题:
(多选)如图所示,为求达到一定循环流量所需要的外加机械能,如下取截面的方法中正确的有( )*

选项:
A: A至A
B: A至B
C: B至A
D: B至B
答案: 【 A至A;
B至A;
B至B】
1、单选题:
(单选)管内流体流动的局部阻力损失产生于( )
选项:
A: 流体质点与这些“局部”的碰撞
B: 流体质点与管内壁上突出物的碰撞
C: 管内流道变化造成的边界层分离
D: 其他三个说法均不正确
答案: 【 管内流道变化造成的边界层分离 】
2、单选题:
(单选)为计算管内某局部造成的流动阻力损失,可以采用当量长度法或局部阻力系数法,这两种方法的计算结果( )
选项:
A: 一定相同
B: 有一定差别,但差别不会太大
C: 可能会有很大差别
D: 层流时计算结果完全相同,湍流时有明显的差别
答案: 【 有一定差别,但差别不会太大 】
3、单选题:
(单选)流体在管内由细管流向粗管流动时有局部阻力损失,其局部阻力系数随细管/粗管面积比的减小而( )
选项:
A: 减小
B: 增大
C: 两者之间没有关系
D: 无法确定
答案: 【 增大】
4、单选题:
(单选)流体在管内由细管流向粗管流动时,局部阻力系数随面积比的变化而变化的范围为( )
选项:
A: 0~1
B: 0.5~1
C: 0~无穷大
D: 1~无穷大
答案: 【 0~1】
5、单选题:
(单选)流体在管内由粗管流向细管流动时,局部阻力系数随面积比的变化而变化的范围为( )*
选项:
A: 0~0.5
B: 0.5~1
C: 0~1
D: 0.5~无穷大
答案: 【 0~0.5】
6、单选题:
(单选)比较开度相同时球阀和截止阀的局部阻力系数( )
选项:
A: 一样大
B: 球阀的较大
C: 截止阀的较大
D: 无法比较
答案: 【 截止阀的较大】
7、单选题:
(单选)比较开度相同时闸阀和截止阀的局部阻力系数( )
选项:
A: 一样大
B: 闸阀的较大
C: 截止阀的较大
D: 无法比较
答案: 【 截止阀的较大】
8、单选题:
(单选)某个阀门的局部阻力系数变化范围是( )*
选项:
A: 0~某正数
B: 0~正无穷大
C: 某正数~正无穷大
D: 某正数~某更大的正数
答案: 【 某正数~正无穷大】
9、单选题:
(单选)关于某类阀门在某一开度下的局部阻力系数及其当量长度,如下说法正确的是( )
选项:
A: 仅局部阻力系数与管径有关
B: 仅当量长度与管径有关
C: 两者都与管径有关
D: 两者都与管径无关
答案: 【 仅当量长度与管径有关】
10、单选题:
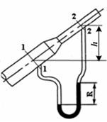
(单选)如图所示,流体在管内流动,则R值反映( )*

选项:
A: A与B之间的机械能差
B: A与B之间的动能差
C: A与B之间的压强差
D: A与B之间的机械能损失
答案: 【 A与B之间的压强差】
11、单选题:
(单选)如图所示,水从高位槽内流入管内,则( )

选项:
A: pA>pB>pC=pD
B: pA=pB>pC=pD
C: pA>pB,pC>pD,但pB和pC无法比较
D: pA>pB,pC=pD,但pB和pC无法比较
答案: 【 pA>pB,pC=pD,但pB和pC无法比较】
12、单选题:
(单选)在流体流过变径管路时,为计算变径处的局部阻力损失,应采用( )
选项:
A: 细管中的流速
B: 粗管中的流速
C: 采用细管中流速和粗管流速的平均值
D: 采用哪个流速与流向有关
答案: 【 细管中的流速】
13、单选题:
(单选)如图所示,R值反映的是( )*

选项:
A: A、B两截面之间的压强差
B: A、B两截面之间压头损失及动压头差之和
C: A、B两截面之间的压头损失
D: A、B两截面之间的动压头差
答案: 【 A、B两截面之间压头损失及动压头差之和】
14、单选题:
(单选)如图所示,高位槽内的水以定态流过水平管道。保持B阀一定的开度。当A阀开大时,h1和h2如何变化?( )

选项:
A: 均增大
B: h1增大,h2减小
C: h1减小,h2增大
D: 均减小
答案: 【 均增大】
15、单选题:
(单选)如图所示,高位槽内的水以定态流过水平管道。保持B阀一定的开度。当A阀开大时,h1-h2如何变化?( )

选项:
A: 增大
B: 减小
C: 不变
D: 无法确定
答案: 【 增大】
16、多选题:
(多选)某类阀门的当量长度与如下哪几个因素有关?( )*
选项:
A: 阀门所在管的内径
B: 阀门的结构
C: 阀门的开度
D: 管内流体的流速
答案: 【 阀门所在管的内径;
阀门的结构;
阀门的开度】
17、多选题:
(多选)一个水槽,其底部有一圆形小孔,水从该孔流出。如下各项中与水流量有关的有几项( )*
选项:
A: 水槽的直径
B: 小孔的孔流系数
C: 水槽内水位
D: 水槽液面上方的压强
答案: 【 小孔的孔流系数;
水槽内水位;
水槽液面上方的压强】
1、单选题:
(单选)如下哪一项可作为管内流体流动流向判据?( )
选项:
A: 流体从压强高处向压强低处流动
B: 流体从总势能高处向总势能低处流动
C: 流体从位能高处向位能低处流动
D: 流体从动能高处向动能低处流动
答案: 【 流体从总势能高处向总势能低处流动】
2、单选题:
(单选)如下哪一项的单位不是m( )
选项:
A: 
B: z
C: 
D: 
答案: 【
】
3、单选题:
(单选)为将以单位体积流体为基准的机械能衡算式转换为以单位质量流体为基准的形式,可将方程两边( )
选项:
A: 同乘以流体的密度
B: 同除以重力加速度
C: 同除以流体的密度
D: 同乘以重力加速度
答案: 【 同除以流体的密度】
4、单选题:
(单选)为将以单位质量流体为基准的机械能衡算式转换为以单位重量流体为基准的形式,可将方程两边( )
选项:
A: 同乘以流体的密度
B: 同除以重力加速度
C: 同除以流体的密度
D: 同乘以重力加速度
答案: 【 同除以重力加速度 】
5、单选题:
(单选)建立一个流动系统的伯努利方程式时,如下哪一项是错误的做法( )*
选项:
A: 上、下游截面基准高度一致
B: 上、下游截面上的压强都采用表压,且方程在形式上与压强采用绝压时保持一致
C: 上、下游截面上的压强都采用绝压,且方程在形式上与压强采用表压时保持一致
D: 上、下游截面上的压强都采用真空度,且方程在形式上与压强采用表压时保持一致
答案: 【 上、下游截面上的压强都采用真空度,且方程在形式上与压强采用表压时保持一致】
6、单选题:
(单选)如下哪一项的单位不是Pa( )
选项:
A: ρgz
B: 
C: 
D: 
答案: 【
】
7、单选题:
(单选)如图所示,管路等径,定态流动时,忽略机械能损失,系统各截面压强由低到高排序正确的是( )

选项:
A: 1-1<2-2<3-3<4-4
B: 4-4<3-3<2-2<1-1
C: 3-3<4-4<1-1<2-2
D: 3-3<1-1<4-4<2-2
答案: 【 3-3<4-4<1-1<2-2】
8、多选题:
(多选)如下各项中,是机械能衡算式中流体机械能单位的有( )
选项:
A: m
B: J/kg
C: Pa
D: W
答案: 【 m;
J/kg;
Pa】
1、单选题:
(单选)流体的连续介质假定是指( )
选项:
A: 流体分子之间没有间隙
B: 液流之中没有气泡,气流之中没有液滴
C: 流体层之间没有间隙
D: 流体质点之间没有间隙
答案: 【 流体质点之间没有间隙】
2、单选题:
(单选)在研究流体流动问题时,最小的考察对象通常是
选项:
A: 流体的质点
B: 流体的分子
C: 液滴或气泡
D: 流体层
答案: 【 流体的质点】
1、单选题:
质量流量一定的流体在管内流动时,如下各项中与管内气体压强有关的是( )
选项:
A: 气体的质量流速
B: 气体流动的雷诺数
C: 流体的黏度
D: 气体的流速
答案: 【 气体的流速】
2、单选题:
如下关于流体黏度的说法,正确的是( )
选项:
A: 温度下降时,水的黏度和空气的黏度均上升
B: 温度下降时,水的黏度和空气的黏度均下降
C: 温度下降时,水的黏度上升,空气的黏度下降
D: 温度下降时,水的黏度下降,空气的黏度上升
答案: 【 温度下降时,水的黏度上升,空气的黏度下降】
3、单选题:
管内流体流动时,如下哪一项不利于形成湍流( )
选项:
A: 增大管径
B: 减小流体密度
C: 增加流体流量
D: 减小流体粘度
答案: 【 减小流体密度】
4、单选题:
牛顿黏性定律适用于( )
选项:
A: 理想流体的层流和湍流流动
B: 牛顿流体的层流流动和湍流流动
C: 牛顿流体的层流流动
D: 牛顿流体的湍流流动
答案: 【 牛顿流体的层流流动】
5、单选题:
流体在圆形直管内作定态流动时,剪应力最大之处是( )
选项:
A: 管中心处
B: 管壁处
C: 距管中心距离为1/2管半径之处
D: 剪应力处处相等
答案: 【 管壁处】
6、单选题:
比较流体圆形直管内作定态层流和湍流流动时速度分布的均匀性( )
选项:
A: 层流更均匀一些
B: 湍流更均匀一些
C: 均匀程度与流动型态无关
D: 那三个说法均不正确
答案: 【 湍流更均匀一些】
7、单选题:
如下分类不正确的是( )
选项:
A: 层流内层、外流区
B: 层流内层、过渡区、湍流主体
C: 边界层、外流区
D: 层流边界层、湍流边界层
答案: 【 层流内层、外流区】
8、单选题:
如下哪一项可作为管内流体流动流向判据?( )
选项:
A: 流体从压强高处向压强低处流动
B: 流体从总势能高处向总势能低处流动
C: 流体从位能高处向位能低处流动
D: 流体从动能高处向动能低处流动
答案: 【 流体从总势能高处向总势能低处流动】
9、单选题:
如图所示,容器内装有水,则U形管内相界面( )

选项:
A: 左高右低
B: 一样高
C: 左低右高
D: 无法确定
答案: 【 一样高】
10、单选题:
如图所示,忽略机械能损失,则流量增大时,R值( )

选项:
A: 增大
B: 减小
C: 不变
D: 无法确定
答案: 【 增大】
11、单选题:
流体在直管内的流动阻力损失,在如下哪种情形时最大( )
选项:
A: 子竖直放置,流体由上向下流动
B: 管子倾斜45度角放置,流体由下向上流动
C: 管子水平放置
D: 那三种放置方式,阻力损失一样大
答案: 【 那三种放置方式,阻力损失一样大】
12、单选题:
流体以一定的流量在直管内层流流动。当管径变为原来的1/2时,阻力损失变为原来的多少倍?( )
选项:
A: 4
B: 8
C: 16
D: 32
答案: 【 16】
13、单选题:
流体在直管内摩擦系数与下列几个数群有关( )①相对粗糙度;②长径比;③雷诺数
选项:
A: 0
B: 1
C: 2
D: 3
答案: 【 2】
14、单选题:
随着直管内流体流速的提高,流体的直管流动阻力损失和摩擦系数
选项:
A: 都增大
B: 都减小
C: 阻力损失减小,摩擦系数增大
D: 阻力损失增大,摩擦系数减小
答案: 【 阻力损失增大,摩擦系数减小】
15、单选题:
粗糙的直管内流体流动进入完全湍流区时,其摩擦系数( )
选项:
A: 与光滑管一样
B: 只与雷诺数有关
C: 只与相对粗糙度有关
D: 与雷诺数和相对粗糙度都有关
答案: 【 只与相对粗糙度有关】
16、单选题:
进行量纲分析的目的在于( )
选项:
A: 从理论上得到各单变量之间的关系
B: 从理论上得到各数群之间的关系
C: 以数群代替单变量,简化实验和数据处理工作
D: 以数群代替单变量,使实验结果更可靠
答案: 【 以数群代替单变量,简化实验和数据处理工作】
17、单选题:
流体在直管内流动时,进入阻力平方区需要的雷诺数随相对粗糙度的减小而( )
选项:
A: 增大
B: 减小
C: 不变
D: 无法确定
答案: 【 增大】
18、单选题:
某一类阀门在某一开度下的当量长度( )
选项:
A: 与阀门所在管径无关
B: 与阀门所在管径成反比
C: 与阀门所在管径成正比
D: 与阀门所在管径的关系无法确定
答案: 【 与阀门所在管径成正比】
19、单选题:
如图所示,如果A与B处的压强相同,则管内流体正在( )

选项:
A: 静止
B: 从A流向B
C: 从B流向A
D: 无法确定
答案: 【 从A流向B】
20、单选题:
按量纲分析的结果组织实验能减小实验工作量,具体体现为如下各项中的几项( )①实验变量的变化范围减小;②方便地改变数群值;③实验次数减少;④可以验证理论方程
选项:
A: 0
B: 1
C: 2
D: 3
答案: 【 2】
1、单选题:
(单选)雷诺实验现象揭示了( )
选项:
A: 流体流动时质点的行为
B: 流体流动阻力产生的原因
C: 流体流动型态
D: 流体流动时的速度分布规律
答案: 【 流体流动时质点的行为】
2、单选题:
(单选)牛顿黏性定律适用于( )
选项:
A: 理想流体层流和湍流流动时
B: 牛顿流体层流流动和湍流流动时
C: 牛顿流体层流流动时
D: 牛顿流体湍流流动时
答案: 【 牛顿流体层流流动时】
3、单选题:
(单选)圆管内流体定态流动时,若雷诺数在2000~4000,如下说法正确的是( )
选项:
A: 单凭雷诺数无法确定流动型态
B: 流动型态一定是层流
C: 流动型态一定是湍流
D: 流动型态一定是过渡流
答案: 【 单凭雷诺数无法确定流动型态】
4、单选题:
(单选)流体在圆管内湍流流动时,径向传递过程的主要阻力在( )
选项:
A: 边界层
B: 过渡区域
C: 层流内层
D: 湍流主体
答案: 【 层流内层】
5、单选题:
(单选)雷诺数的物理意义在于它代表了流体流动中的( )
选项:
A: 剪应力与流动阻力之比
B: 惯性力与黏性力之比
C: 剪应力与动量通量之比
D: 黏性力与惯性力之比
答案: 【 惯性力与黏性力之比】
6、单选题:
(单选)流体以湍流型态流过固体壁面时,质点的脉动幅度与其离壁距离的关系是( )
选项:
A: 没有关系
B: 离壁越近,脉动幅度越大
C: 离壁越远,脉动幅度越大
D: 不好说
答案: 【 离壁越远,脉动幅度越大】
7、多选题:
(多选)流体在管内流动时,如下各项中,哪几项会使层流内层增厚?( )*
选项:
A: 流体黏度变小
B: 流体流速减小
C: 如为液体,升高其温度
D: 如为气体,升高其温度
答案: 【 流体流速减小;
如为气体,升高其温度】
8、多选题:
(多选)雷诺数小于2000为层流,大于4000为湍流。请你为这个判据的使用加限定条件( )
选项:
A: 液体
B: 圆形管
C: 牛顿流体
D: 定态流动
答案: 【 圆形管;
牛顿流体】
1、单选题:
(单选)按照边界层理论,流体可分为( )
选项:
A: 气体和液体
B: 牛顿流体和非牛顿流体
C: 层流流体和湍流流体
D: 理想流体和黏性流体
答案: 【 理想流体和黏性流体】
2、单选题:
(单选)如下关于边界层发展的说法,正确的是( )
选项:
A: 随着边界层的发展,边界层内的速度梯度越来越小
B: 随着边界层的发展,边界层内的速度梯度越来越大
C: 随着边界层的发展,边界层内的速度梯度保持不变。
D: 随着边界层的发展,边界层内的速度梯度变化不定
答案: 【 随着边界层的发展,边界层内的速度梯度越来越小】
3、单选题:
(单选)当圆管内流动充分发展时,其边界层的厚度( )
选项:
A: 等于管子的内直径
B: 等于管子的内半径
C: 大于管子的内半径
D: 大于管子的内直径
答案: 【 等于管子的内半径】
4、单选题:
(单选)流体流过静止不动的固体壁面时,将形成边界层和外流区,可将外流区的流体视为理想流体的原因是( )*
选项:
A: 外流区内流速高
B: 外流区内速度梯度小
C: 外流区内流体黏性小
D: 外流区内流体压强低
答案: 【 外流区内速度梯度小 】
5、单选题:
(单选)流体流过静止的平板时将形成边界层,其由层流边界层发展成湍流边界层需要流过的长度( )*
选项:
A: 随流体黏度的增加而减小
B: 随流体黏度的增加而增加
C: 与流体黏度无关
D: 流体为液体时与黏度有关,否则与黏度无关
答案: 【 随流体黏度的增加而增加 】
6、单选题:
(单选)流体从管外流入一根圆管,如下说法正确的是( )
选项:
A: 管内不一定会形成边界层
B: 管内一定会出现湍流边界层,但不一定会出现层流边界层
C: 管内一定会出现层流边界层,也一定会出现湍流边界层
D: 管内一定会出现层流边界层,但不一定会出现湍流边界层
答案: 【 管内一定会出现层流边界层,但不一定会出现湍流边界层】
1、单选题:
(单选)如下关于流体黏度的说法,正确的是( )
选项:
A: 温度下降时,水的黏度和空气的黏度均上升
B: 温度下降时,水的黏度和空气的黏度均下降
C: 温度下降时,水的黏度上升,空气的黏度下降
D: 温度下降时,水的黏度下降,空气的黏度上升
答案: 【 温度下降时,水的黏度上升,空气的黏度下降】
2、单选题:
如下哪种流体是非牛顿流体( )
选项:
A: 人体内的血液
B: 硅油
C: 空气
D: 水
答案: 【 人体内的血液】
3、单选题:
(单选)流体的动力学黏度属于流体的( )*
选项:
A: 热力学性质
B: 传递性质
C: 既是热力学性质,又是传递性质
D: 既不是热力学性质,也不是传递性质
答案: 【 传递性质】
4、单选题:
(单选)一般来说,液体的黏度远大于气体的黏度,根本原因是( )
选项:
A: 气体可以是理想的,而液体没有理想性
B: 液体分子的热运动激烈程度远高于气体
C: 液体分子的密集程度
D: 液体的压强一般远大于气体
答案: 【 液体分子的密集程度】
5、单选题:
(单选)如图所示,两块平行板间充满流体,使下板固定,对上板施以一个水平向右的恒定外力,使上板以速度U平行于下板匀速运动。则( )

选项:
A: 板间流体静止
B: 板间流体内部各层均以U向右匀速运动
C: 板间流体内部各层沿x方向的速度大小在y方向上按线性规律分布
D: 板间流体内部各层沿x方向的速度在y方向上按抛物线规律分布
答案: 【 板间流体内部各层沿x方向的速度大小在y方向上按线性规律分布】
6、单选题:
(单选)在国际单位制中,黏度的量纲是( )
选项:
A: 
B: 
C: 
D: 
答案: 【
】
7、多选题:
(多选)一个活塞在直径一定的气缸内做往复运动,活塞侧面与气缸内壁之间有一层润滑油。如下各物理量中对活塞所受摩擦力有影响的有( )*
选项:
A: 气缸内气体的温度
B: 气缸内气体的压强
C: 活塞的运动速度
D: 活塞的直径
答案: 【 气缸内气体的温度;
活塞的运动速度;
活塞的直径】
8、多选题:
(多选)一股流体正在以定态流过某一水平放置的平板上方,则如下说法中错误的有( )*
选项:
A: 在流体内部,水平方向上的速度处处相等
B: 在流体内部,竖直方向上的速度梯度处处相等
C: 在流体内部,水平方向上的剪应力处处相等
D: 在流体内部,压强处处相等
答案: 【 在流体内部,水平方向上的速度处处相等;
在流体内部,压强处处相等】
1、单选题:
(单选)如下哪一项不是静止流体内部的物理规律?( )
选项:
A: 动能处处相等
B: 总势能处处相等
C: 静压能处处相等
D: 机械能处处相等
答案: 【 静压能处处相等】
2、单选题:
(单选)如图所示,A、B容器和引压管中都充满水,则( )*

选项:
A: R>H
B: R=H
C: R<H
D: 无法确定
答案: 【 R=H】
3、单选题:
(单选)与U形压差计两相界面高度差R对应的是( )*
选项:
A: 两测压点的机械能差
B: 两测压点的总势能差
C: 两测压点的压强差
D: 两测压点的位差
答案: 【 两测压点的总势能差】
4、单选题:
(单选)在实验中,用正U形压差计测定管路中某两截面之间的压强差,若选用的指示液密度越小,则测量误差( )
选项:
A: 越大
B: 越小
C: 测量误差与指示液的密度没有关系
D: 无法确定
答案: 【 越小】
5、单选题:
(单选)欲使设备内气体在较高的压强下冲出,则其液封高度应( )
选项:
A: 较高
B: 较低
C: 不变
D: 无法确定
答案: 【 较高】
6、单选题:
(单选)如图所示,欲通过测量R计算h。实验时,要求右上角小玻璃瓶内始终中能看到运动气泡,原因是( )*

选项:
A: 确保R值有一定的读数,减小实验误差
B: 监视系统的气密性
C: 确保A所在立管内没有液体
D: 确保当系统压强过高时,气体可以冲出泄压
答案: 【 确保A所在立管内没有液体】
7、多选题:
(多选)在单一的静止流体内部,如下说法中正确的有( )
选项:
A: 机械能处处相等
B: 静压能与位能之和处处相等
C: 压强处处相等
D: 位能处处相等
答案: 【 机械能处处相等;
静压能与位能之和处处相等】
1、单选题:
(单选)流体在均匀直管内层流流动时,阻力损失产生的原因是( )
选项:
A: 流体质点之间的碰撞
B: 速度不同的流体层之间的剪力
C: 流体质点与管内壁上突出物的碰撞
D: 漩涡的形成、分解、消亡造成的能量耗散
答案: 【 速度不同的流体层之间的剪力】
2、单选题:
(单选)流体在圆形直管内层流动时,阻力损失与流速的关系是( )
选项:
A: 正比于流速的一次方
B: 反比于流速的一次方
C: 正比于流速的二次方
D: 正比于流速的k次方,1<k<2
答案: 【 正比于流速的一次方】
3、单选题:
(单选)流体在直管内层流流动时的摩擦系数( )
选项:
A: 最好通过实验测定
B: 无需通过实验测定
C: 需要通过实验测定
D: 那三个说法都不对
答案: 【 无需通过实验测定】
4、单选题:
(单选)在如下哪种情况下“管内流动阻力损失等于压强差”说法成立( )
选项:
A: 任何情况
B: 任意放置的等径直管
C: 竖直放置的等径直管
D: 水平放置的等径直管
答案: 【 水平放置的等径直管】
5、单选题:
(单选)流量一定的流体流过一段等径直管,比较管子水平和竖直放置(流体由下向上流)时,管上两截面的压强差( )
选项:
A: 水平放置时较大
B: 竖直放置时较大
C: 一样大
D: 无法比较,结果如何压强差还与流动型态有关
答案: 【 竖直放置时较大】
6、单选题:
(单选)流量一定的流体流过一段等径直管,比较管子水平放置、竖直放置(流体由下向上流)、竖直放置(流体由上向下流)时,管上、下游两截面的压强之差,下列排序正确的是( )*
选项:
A: 一样大
B: 竖直放置(流体由上向下流) > 水平放置 > 竖直放置(流体由下向上流
C: 水平放置 > 竖直放置(流体由下向上流) > 竖直放置(流体由上向下流)
D: 竖直放置(流体由下向上流) > 水平放置> 竖直放置(流体由上向下流)
答案: 【 竖直放置(流体由下向上流) > 水平放置> 竖直放置(流体由上向下流)】
7、单选题:
(单选)流体在管径一定的直管内层流流动。若流量变为原来的二倍,阻力损失变为原来的多少倍?( )
选项:
A: 2
B: 4
C: 8
D: 16
答案: 【 2】
8、多选题:
(多选)流体在直管内层流流动时的阻力损失与如下哪几项有关( )
选项:
A: 管长
B: 管内径
C: 管子的相对粗糙度
D: 流体的密度和黏度
答案: 【 管长;
管内径;
流体的密度和黏度】
1、单选题:
(单选)设搅拌器的搅拌功率是流体的密度、黏度、搅拌桨转速和搅拌桨直径的函数,若将这些变量之间的关系以数群形式表达,则数群的个数为( )*
选项:
A: 4
B: 3
C: 2
D: 1
答案: 【 2】
2、单选题:
(单选)按量纲分析的结果组织实验、处理数据能使获得的经验方程具有可推广性,根本原因是( )*
选项:
A: 以高次幂函数逼近原函数,数据处理误差小
B: 实验过程涉及所有有关的物理量
C: 实验方案接近于正交实验方案
D: 实验时以数群为变量
答案: 【 实验时以数群为变量】
3、单选题:
(单选)按量纲分析的结果组织实验、处理数据获得了经验方程,该方程的使用( )*
选项:
A: 仅限于实验所涉及的物系和同尺寸的设备
B: 受限于实验所涉及的流速、管径等变量的变化范围
C: 受限于实验所涉及的数群值的变化范围
D: 不受任何限制
答案: 【 受限于实验所涉及的数群值的变化范围】
4、单选题:
(单选)直管内流体流动摩擦系数图采用对数坐标的原因是( )*
选项:
A: 摩擦系数与雷诺数之间是对数关系
B: 一般地,摩擦系数的数值都很小,雷诺数的数值都很大
C: 按量纲分析的结果做实验,实验结果必须这么画图
D: 图所涉及的摩擦系数和雷诺数变化范围都超出了一个数量级
答案: 【 图所涉及的摩擦系数和雷诺数变化范围都超出了一个数量级】
5、单选题:
(单选)当直管内流体流动雷诺数介于2000~4000之间时,按湍流考虑时获得的摩擦系数较之按层流考虑的( )
选项:
A: 高
B: 低
C: 一样
D: 无法比较
答案: 【 高】
6、单选题:
(单选)可以这样理解流体在直管内流动时摩擦系数与雷诺数的关系:摩擦系数与雷诺数的k次方成正比,随着雷诺数的增加,k值( )
选项:
A: 增加
B: 减小
C: 不变
D: 无法确定
答案: 【 增加】
7、单选题:
(单选)可以这样理解流体在直管内流动时摩擦系数与雷诺数的关系:摩擦系数与雷诺数的k次方成正比,当层流时,k等于( )
选项:
A: -1
B: 0
C: 1
D: 2
答案: 【 -1】
8、单选题:
(单选)可以这样理解流体在直管内流动时摩擦系数与雷诺数的关系:摩擦系数与雷诺数的k次方成正比,当完全湍流时,k等于( )
选项:
A: -1
B: 0
C: 1
D: 2
答案: 【 0】
9、单选题:
(单选)可以这样理解流体在直管内流动时摩擦系数与雷诺数的关系:摩擦系数与雷诺数的k次方成正比,当管内湍流但尚未完全湍流时,k值( )*
选项:
A: 1<k<2
B: 0<k<1
C: 等于1
D: -1<k<0
答案: 【 -1<k<0】
10、单选题:
(单选)一般来说,随着管子使用时间的延长,管子的绝对粗糙度( )
选项:
A: 增加
B: 减小
C: 不变
D: 无法确定
答案: 【 增加】
11、单选题:
(单选)流体在直管内流动时的摩擦系数与管子的粗糙度有关,根本原因是( )*
选项:
A: 管子越粗糙,流体质点的脉动幅度越大
B: 管子越粗糙,层流内层越薄
C: 管壁上的突出物使管子的有效直径减小,流动阻力增大
D: 质点与管壁上突出物的碰撞引起机械能损失
答案: 【 质点与管壁上突出物的碰撞引起机械能损失】
12、单选题:
(单选)规格为85×3.5mm和45×2.5的管子构成的环隙流道当量直径为( )
选项:
A: 45mm
B: 40mm
C: 33mm
D: 38mm
答案: 【 33mm】
13、单选题:
(单选)流体在直管内流动时,层流内层厚度与管子绝对粗糙度相比,( )
选项:
A: 相等
B: 前者较大
C: 后者较大
D: 其他三个说法都不对
答案: 【 其他三个说法都不对 】
14、单选题:
(单选)长为a、宽为b(均不含壁厚)的矩形管的当量直径为( )
选项:
A: ab/(2a+2b)
B: 4ab/(a+b)
C: 2ab/(a+b)
D: ab/(a+b)
答案: 【 2ab/(a+b)】
15、单选题:
(单选)相对粗糙度越大,则摩擦系数越大,此说法( )
选项:
A: 仅当管内层流时正确
B: 仅当管内湍流时正确
C: 当管内层流或湍流时均正确
D: 当管内层流或湍流时均不正确
答案: 【 仅当管内湍流时正确 】
16、单选题:
(单选)“因为摩擦系数随雷诺数的增大而减小,而雷诺数随流速的增大而增大,所以直管内流动阻力损失随流速的增大而减小”。此说法( )
选项:
A: 仅当管内为层流时成立
B: 仅当管内为湍流时成立
C: 当管内为层流或湍流时均成立
D: 当管内为层流或湍流时均不成立
答案: 【 当管内为层流或湍流时均不成立】
17、单选题:
(单选)流体以一定的流量在直管内流动,且流动已进入阻力平方区。则当管径变为原来的1/2时,阻力损失变为原来的多少倍?(忽略管径变化造成的相对粗糙度变化)( )*
选项:
A: 2
B: 4
C: 16
D: 32
答案: 【 32】
18、单选题:
(单选)流体在管径一定的直管内流动,且流动已进入阻力平方区。若流量变为原来的二倍,阻力损失变为原来的多少倍?( )
选项:
A: 2
B: 4
C: 8
D: 16
答案: 【 4】
19、单选题:
(单选)流体在管径一定的直管内流动。若流量变为原来的二倍,阻力损失变为原来的多少倍?( )
选项:
A: 2
B: 4
C: 8
D: 判断依据不足
答案: 【 判断依据不足 】
20、单选题:
(单选)如图所示,水从高位槽流向管内,请比较水在A、B、C三处的机械能()

选项:
A: A>B>C
B: C>B>A
C: B>A>C
D: A=B>C
答案: 【 A=B>C】
21、单选题:
(单选)如图所示,水在管内以一定的流量流动,若开大阀门,则整个管路的机械能损失( )*

选项:
A: 增大
B: 减小
C: 不变
D: 无法确定
答案: 【 不变】
22、单选题:
(单选)如图所示,水从高位槽内流入管路,ab段与cd段的长度、内径和粗糙度均相同,试比较R1与R2的大小( )*

选项:
A: R1大于R2
B: R1等于R2
C: R1小于R2
D: 无法确定
答案: 【 R1等于R2】
23、单选题:
(单选)如图所示,水从高位槽内流入管路,ab段与cd段的长度、内径和粗糙度均相同,试比较ab段与cd段压降的大小( )*

选项:
A: ab段的压降较大
B: cd段的压降较大
C: 两段的压降一样大
D: 无法确定
答案: 【 cd段的压降较大】
24、单选题:
(单选)管内流体流动存在阻力平方区的根本原因是( )
选项:
A: 速度不同的流体层之间存在剪力
B: 流体质点与管内壁内突出物的碰撞
C: 流体与管内壁之间的相对运动产生摩擦力
D: 其他三个都不是
答案: 【 流体质点与管内壁内突出物的碰撞】
25、单选题:
(单选)流体在直管内流动时,层流、湍流和完全湍流三种情况下,摩擦系数与相对粗糙的关系是( )
选项:
A: 层流和完全湍流时无关,湍流时随相对粗糙度增大摩擦系数增大;
B: 层流时无关,湍流和完全湍流时随相对粗糙度增大摩擦系数增大;
C: 层流和湍流时无关,完全湍流时随相对粗糙度增大摩擦系数增大;
D: 其他三种说法都不对
答案: 【 层流时无关,湍流和完全湍流时随相对粗糙度增大摩擦系数增大;】
26、多选题:
(多选)按量纲分析的结果进行工程问题的实验研究,如下哪几项是其带来的益处( )
选项:
A: 实验工作量较小;
B: 实验误差较小;
C: 实验结果可以推广至实验以外的其他物系和其他同类设备
D: 实验安全性强
答案: 【 实验工作量较小;;
实验结果可以推广至实验以外的其他物系和其他同类设备】
27、多选题:
(多选)如下说法中,错误的有( )*
选项:
A: 流体在直管内的流动阻力损失与管长成正比
B: 流体在直管内的流动阻力损失与管径成反比
C: 流体在直管内的流动阻力损失与流速的平方成正比
D: 流体在直管内的流动阻力损失与管子的长/径比成正比
答案: 【 流体在直管内的流动阻力损失与管径成反比;
流体在直管内的流动阻力损失与流速的平方成正比;
流体在直管内的流动阻力损失与管子的长/径比成正比】
28、多选题:
(多选)当流体在直管内湍流时,随着雷诺数的增大,如下结论正确的有( )*
选项:
A: 摩擦系数减小
B: 管内层流内层变薄
C: 近壁处速度梯度减小
D: 流体湍动程度增大
答案: 【 摩擦系数减小;
管内层流内层变薄;
流体湍动程度增大】
29、多选题:
(多选)流体在圆管内湍流流动时,层流内层越薄时,如下说法中正确的有( )*
选项:
A: 流动阻力越大
B: 近壁处速度梯度越大
C: 流动湍动程度越大
D: 管内流体流动速度分布越均匀
答案: 【 流动阻力越大;
近壁处速度梯度越大;
流动湍动程度越大;
管内流体流动速度分布越均匀】
30、多选题:
(多选)按量纲分析的结果组织实验能减小实验工作量,具体体现为如下各项中的哪几项( )
选项:
A: 实验变量的变化范围减小
B: 方便地改变变量值
C: 实验次数减少
D: 可以验证理论方程
答案: 【 方便地改变变量值;
实验次数减少】
1、单选题:
(单选)如单位质量流体在管路中的阻力损失以Wf表示,单位重量流体在同一管路中的阻力损失以Hf 表示,则二者的关系为 ()
选项:
A: Hf >Wf
B: Hf =Wf /g
C: Hf = Wf
D: Hf = gWf
答案: 【 Hf =Wf /g】
2、单选题:
(单选)流体在直管内流动的摩擦系数可视为( )*
选项:
A: 惯性力与黏性力之积
B: 惯性力与黏性力之比
C: 黏性力与惯性力之比
D: 那三个说法都不对
答案: 【 黏性力与惯性力之比】
3、单选题:
(单选)计算直管内流动阻力的范宁公式( )
选项:
A: 仅适用于层流
B: 仅适用于湍流
C: 既适用于层流,也适用于湍流
D: 适用场合还应视管子的相对粗糙度而定
答案: 【 既适用于层流,也适用于湍流】
4、单选题:
(单选)流体在直管内的流动阻力损失,在如下哪种情形时最大( )*
选项:
A: 管子竖直放置,流体由上向下流动
B: 管子倾斜45度角放置,流体由下向上流动
C: 管子水平放置
D: 那三种放置方式,阻力损失一样大
答案: 【 那三种放置方式,阻力损失一样大】
5、单选题:
(单选)如图所示,流体以一定流量在管内由1流向2,。当管子如何放置时R值最大( )*

选项:
A: 水平放置时
B: 垂直放置且1截面在下时
C: 垂直放置且2截面在下时
D: 这三种放置方式R一样大
答案: 【 这三种放置方式R一样大】
6、单选题:
(单选)理想流体流动时,其流动阻力( )
选项:
A: 等于0
B: 大于0,但小于同种情况下的黏性流体
C: >等于同种情况下的黏性流体
D: 其他三个说法都不正确
答案: 【 等于0】
7、单选题:
气体在等径的圆形管内作定态流动时,各管截面上的()
选项:
A: 体积流量处处相等
B: 平均流速处处相等
C: 质量流速处处相等
D: 流速逐渐减小
答案: 【 质量流速处处相等】
8、多选题:
(多选)关于流体在等径直管内流动时两截面间的阻力损失,如下说法正确的有( ) *
选项:
A: 等于上、下游截面的机械能之差
B: 等于上、下游截面的总势能之差
C: 等于上、下游截面的静压能差
D: 等于上、下游截面的动能差
答案: 【 等于上、下游截面的机械能之差;
等于上、下游截面的总势能之差】
9、多选题:
(多选)如下各项中,是机械能衡算式中流体机械能单位的有()
选项:
A: 米
B: 牛顿/平方米
C: 米/秒平方
D: 焦耳/立方米
答案: 【 米;
牛顿/平方米;
焦耳/立方米】
1、单选题:
(单选)如图所示,两块平行板间充满流体,使下板固定,对上板施以一个水平向右的恒定外力,使上板以速度U平行于下板匀速运动。则( )

选项:
A: 板间流体静止
B: 板间流体内部各层均以U向右匀速运动
C: 板间流体内部各层沿x方向的速度大小在y方向上按线性规律分布
D: 板间流体内部各层沿x方向的速度在y方向上按抛物线规律分布
答案: 【 板间流体内部各层沿x方向的速度大小在y方向上按线性规律分布】
2、单选题:
(单选)关于流体在圆形管内的流动,如下哪一项说法不正确( )*
选项:
A: 层流和湍流时,流体内部剪应力沿径向分布的数学规律不同
B: 层流和湍流时,流体内部速度沿径向分布的数学规律不同
C: 就壁面附近的速度梯度而言,湍流比层流大
D: 湍流时的速度分布较层流时均匀
答案: 【 层流和湍流时,流体内部剪应力沿径向分布的数学规律不同】
3、单选题:
(单选)如图所示,流体在圆形管内定态流动,则A、B两点比较( )

选项:
A: A处的速度小于B处,A处的剪应力小于B处
B: A处的速度大于B处,A处的剪应力小于B处
C: A处的速度小于B处,A处的剪应力大于B处
D: A处的速度大于B处,A处的剪应力大于B处
答案: 【 A处的速度小于B处,A处的剪应力大于B处】
4、单选题:
(单选)流体在圆形直管内作定态层流流动时,考虑某一个管截面()
选项:
A: 该截面上其他任意点的速度大于中心处的速度
B: 该截面上其他任意点的剪应力大于中心处的剪应力
C: 该截面上其他任意点的动能大于中心处的动能
D: 以上说法均不正确
答案: 【 该截面上其他任意点的剪应力大于中心处的剪应力】
5、单选题:
(单选)如下关于圆管内层流的说法,正确的是( )*
选项:
A: 最大速度是平均速度的1/2,平均动能是按平均流速算出动能的1/2
B: 最大速度是平均速度的2倍,平均动能是按平均流速算出动能的1/2
C: 最大速度是平均速度的1/2,平均动能是按平均流速算出动能的2倍
D: 最大速度是平均速度的2倍,平均动能是按平均流速算出动能的2倍
答案: 【 最大速度是平均速度的2倍,平均动能是按平均流速算出动能的2倍】
6、单选题:
(单选)针对圆管内的流体流动,关于层流与湍流的区别,如下表述中正确的是( )*
选项:
A: 剪应力沿径向分布的数学规律不同
B: 湍流时不存在由于分子热运动而造成的动量传递,而层流时存在
C: 同种流体在同样的速度梯度下,湍流剪应力大于层流
D: 湍流时流体所有的质点都在脉动,而层流时流体所有质点都不脉动
答案: 【 同种流体在同样的速度梯度下,湍流剪应力大于层流】
7、单选题:
(单选)流体圆形直管内作定态流动时,剪应力在径向上的分布规律是( )
选项:
A: 直线
B: 抛物线
C: 层流时为直线,湍流时为抛物线
D: 湍流时为直线,层流时为抛物线
答案: 【 直线】
8、单选题:
(单选)某流体在内径为60mm的圆管内做定态流动,管截面上的速度分布服从u=30y-500y*y。式中y为管截面上某一点至管壁的距离,m;u为该点处流速,m/s。则管内最大速度为( )
选项:
A: 0.5m/s
B: 0.48m/s
C: 0.45m/s
D: 1.0m/s
答案: 【 0.45m/s】
9、单选题:
(单选)某黏度为50mPa.s的流体在内径为60mm的圆管内做定态层流流动,管截面上的速度分布服从u=30y-500y*y。式中y为管截面上某一点至管壁的距离,m;u为该点处流速,m/s。则管内最大剪应力为( )*
选项:
A: 1.5Pa
B: 0.4Pa
C: 0.021Pa
D: 条件不足,无法计算
答案: 【 1.5Pa】
10、单选题:
(单选)流体在圆形直管内作定态湍流流动时,速度在径向上的分布规律是( )
选项:
A: 直线
B: 抛物线
C: 不确定,数学形式与雷诺数有关
D: 不确定,数学形式与流体的压强有关
答案: 【 不确定,数学形式与雷诺数有关】
11、多选题:
(多选)比较流体在圆形直管内作定态层流和湍流流动时速度在径向上的分布规律,如下说法正确的有几个( )*
选项:
A: 管壁附近,湍流的速度分布更不均匀
B: 管中心附近,层流的速度分布更不均匀
C: 总的来说,层流的速度分布更不均匀
D: 总的来说,湍流的速度分布更不均匀
答案: 【 管壁附近,湍流的速度分布更不均匀;
管中心附近,层流的速度分布更不均匀;
总的来说,层流的速度分布更不均匀】
12、多选题:
(多选)一股流体正在某一水平放置的均匀圆形直管内作定态流动,则如下说法中错误的有( )*
选项:
A: 在流体内部,水平方向上的速度处处相等
B: 在流体内部,竖直方向上的速度梯度处处相等
C: 在流体内部,水平方向上的剪应力处处相等
D: 在流体内部,压强处处相等
答案: 【 在流体内部,水平方向上的速度处处相等;
在流体内部,竖直方向上的速度梯度处处相等;
在流体内部,水平方向上的剪应力处处相等;
在流体内部,压强处处相等】
13、多选题:
(多选)一股牛顿流体正在以层流定态流过某一水平放置的平板上方,则如下说法中错误的有( )*
选项:
A: 在流体内部,水平方向上的速度处处相等
B: 在流体内部,竖直方向上的速度梯度处处相等
C: 在流体内部,水平方向上的剪应力处处相等
D: 在流体内部,压强处处相等
答案: 【 在流体内部,水平方向上的速度处处相等;
在流体内部,压强处处相等】
1、单选题:
(单选)建立管流的机械能守恒方程时要取截面。取截面其实是在( )
选项:
A: 确定衡算范围
B: 确定衡算基准
C: 确定衡算对象
D: 没有实质作用
答案: 【 确定衡算范围】
2、单选题:
(单选)如下哪种流体在管内流动时机械能“守恒”( )
选项:
A: 牛顿型流体
B: 粘性流体
C: 气体
D: 理想流体
答案: 【 理想流体】
3、单选题:
(单选)流体的总势能是其( )
选项:
A: 位能与静压能之和
B: 位能与动能之和
C: 动能与静压能之和
D: 以上说法均不正确
答案: 【 位能与静压能之和】
4、单选题:
(单选)如下哪一项的单位不会是J/kg
选项:
A: 
B: 
C: p/g
D: gz
答案: 【 p/g】
5、单选题:
(单选)方程
等号左边那项的物理含义是 ( )
选项:
A: 单位质量流体的静压能
B: 单位质量的流体微元在x方向上受到的净压力
C: 流体内部的压强梯度
D: 流体流动过程的压力降
答案: 【 单位质量的流体微元在x方向上受到的净压力】
6、单选题:
(单选)推导沿轨线的柏努利方程,是否使用了“流体不可压缩”这个条件?
选项:
A: 用了
B: 没有用
C: 对液体使用了,对气体没有使用
D: 对气体使用了,对液体没有使用
答案: 【 用了】
1、单选题:
(单选)建立管流的守恒方程时要取截面。取截面其实是在( )
选项:
A: 确定衡算范围
B: 确定衡算基准
C: 确定衡算对象
D: 没有实质作用
答案: 【 确定衡算范围】
2、单选题:
(单选)对于不可压缩流体流动的圆形直管,若管径减小为原来的1/2,则管内流体流速( )
选项:
A: 不变
B: 变为原来的2倍
C: 变为原来的4倍
D: 层流时变为原来的2倍,湍流时变为原来的4倍
答案: 【 变为原来的4倍】
3、多选题:
(多选)把管流的质量守恒方程写为u=常数需要如下哪些条件
选项:
A: 定态流动
B: 流体不可压缩
C: 均匀管段
D: 等温流动
答案: 【 定态流动;
流体不可压缩;
均匀管段;
等温流动】
1、单选题:
隔板属于离心式压缩机的()
选项:
A: 转子
B: 定子
C: 既是转子又是定子
D: 不好说
答案: 【 定子】
2、单选题:
离心式压缩机一般都采用()
选项:
A: 半开式叶轮
B: 开式叶轮
C: 闭式叶轮
D: 采用何种叶轮与压缩比有关
答案: 【 闭式叶轮】
3、单选题:
对于离心式压缩,从气体的入口到出口,叶轮直径()
选项:
A: 逐级减小
B: 逐级增大
C: 各级相同
D: 不好说
答案: 【 逐级减小】
4、单选题:
与往复式压缩机相比,离心式压缩机的吸、排气量()
选项:
A: 小而均匀
B: 小而不均匀
C: 大而均匀
D: 大而不均匀
答案: 【 大而均匀】
5、单选题:
离心式压缩机的压缩比很高,如下各项中可能成为其主要原因的有几项()*①采用了多级;②转速高;③有导叶;④有扩压器
选项:
A: 0
B: 1
C: 2
D: 3
答案: 【 3】
6、单选题:
离心式压缩机通常采用多段压缩,如下各项中有几项是多段压缩带来的结果()①节省压缩功;②可以实施级间冷却;③系统机械结构复杂
选项:
A: 0
B: 1
C: 2
D: 3
答案: 【 3】
7、单选题:
往复式压缩在工作时一般在气缸内都留有余隙,这是为了()
选项:
A: 保护气缸和活塞杆
B: 提高压缩机的效率
C: 节省压缩功
D: 提高吸、排气量
答案: 【 保护气缸和活塞杆】
8、单选题:
在余隙体积和入口气体压强一定时,往复式压缩机的压缩比越大,其吸、排气量()*
选项:
A: 越大
B: 越小
C: 压缩比与吸、排气量没有关系
D: 不好说
答案: 【 越小】
9、单选题:
往复式压缩机压缩比过大时往往采用多级压缩。如下各项中,有几项是多级压缩的好处()* ①使系统结构简单;②减小余隙的影响;③便于实施级间冷却;④节省压缩功
选项:
A: 1
B: 2
C: 3
D: 4
答案: 【 3】
1、单选题:
(单选)在一根等径的直管中安装了一个标准孔板,用U形压差计测量管内流体的流量。若发现管子水平放置和竖直放置时读数R相同,比较这两种放置方式下的管内流量( )*
选项:
A: 水平放置时较大
B: 竖直放置时较大
C: 流量相同
D: 无法确定
答案: 【 流量相同】
2、单选题:
(单选)孔板流量计的流量系数随管内流体雷诺数的变化规律是( )
选项:
A: 与雷诺数无关
B: 随雷诺数的增大而增大,但逐渐趋于定值
C: 随雷诺数的增大而减小,但逐渐趋于定值
D: 无法确定
答案: 【 随雷诺数的增大而减小,但逐渐趋于定值】
3、单选题:
(单选)标准孔板的流量系数取决于如下哪一组物理量( )
选项:
A: 管内流体流动雷诺数和管子的相对粗糙度
B: 管内流体流动雷诺数和孔板的面积比
C: 管子的相对粗糙度和孔板的面积比
D: 管子的长径比和孔板的面积比
答案: 【 管内流体流动雷诺数和孔板的面积比】
4、单选题:
(单选)文丘里流量计的流量系数大致范围是( )*
选项:
A: 0.5左右
B: 0~1之间但很接近于0
C: 0~1之间但很接近于1
D: 1~无穷大
答案: 【 0~1之间但很接近于1】
5、单选题:
(单选)孔板流量计设计的主要工作是( )
选项:
A: 确定合适的流量测量范围
B: 确定合适的面积比
C: 确定孔口张角
D: 确定临界雷诺数
答案: 【 确定合适的面积比】
6、单选题:
(单选)如下各项中,哪一项是文丘里流量计和孔板流量计的共同点( )*
选项:
A: 造价都很低
B: 机械能损失都很大
C: 流量系数都接近于1
D: 都通过测量压差获知流量
答案: 【 都通过测量压差获知流量】
7、单选题:
(单选)孔板造成的机械能损失主要起源于( )
选项:
A: 流股的缩小
B: 流股的扩大
C: 流股的缩小或扩大
D: 流股的缩小和扩大
答案: 【 流股的扩大】
8、单选题:
(单选)管内流体流动雷诺数超过某界限值后,流量系数与雷诺数无关。该界限值取决于( )
选项:
A: 孔板面积比
B: 孔板的材质
C: 管子的长径比
D: 孔板的流量系数
答案: 【 孔板面积比】
9、单选题:
(单选)孔板流量计流量系数常处于如下哪一个范围( )
选项:
A: 0.6~0.7
B: 0.5左右
C: 0~1之间但很接近于1
D: 1~无穷大
答案: 【 0.6~0.7 】
10、单选题:
(单选)设计孔板时,面积比不能取得过大,主要是为了( )
选项:
A: 减小机械能损失
B: 保证测量精度
C: 降低制作费用
D: 兼顾那三个方面
答案: 【 保证测量精度】
11、单选题:
(单选)设计孔板时,面积比不能取得过小,主要是为了( )
选项:
A: 减小机械能损失
B: 保证测量精度
C: 降低制作费用
D: 兼顾那三个方面
答案: 【 减小机械能损失】
12、单选题:
(单选)管内流体流过孔板时,压强最低处是( )
选项:
A: 流股收缩处
B: 孔口处
C: 缩脉处
D: 孔口下游距孔口1/2管径处
答案: 【 缩脉处】
13、单选题:
(单选)一般来说,一个孔板的流量系数越大,说明其在使用时造成的机械能损失( )
选项:
A: 越大
B: 越小
C: 两者之间没有关系
D: 无法确定
答案: 【 越小】
14、单选题:
(单选)孔板流量计测量的压降( )
选项:
A: 完全是由孔板造成的永久压降
B: 主要是由孔板造成的永久压降
C: 主要是由于流股缩小造成的可恢复压降
D: 那三个说法都不对
答案: 【 主要是由于流股缩小造成的可恢复压降】
15、多选题:
(多选)文丘里流量计和孔板流量计在以下哪几方面存在明显区别( )*
选项:
A: 测量流量的原理
B: 机械能损失
C: 流量系数
D: 流体流动状况
答案: 【 机械能损失;
流量系数;
流体流动状况】
16、多选题:
(多选)以下哪几项对设计孔板者有用( )*
选项:
A: 管子内径
B: 流量下限
C: 流量上限
D: 使用U形管测压时允许的R最大值
答案: 【 管子内径;
流量下限;
流量上限;
使用U形管测压时允许的R最大值】
17、多选题:
(多选)以下各项中,哪几项对孔板的流量系数有影响( )
选项:
A: 面积比
B: 雷诺数
C: 取压方式
D: 孔口形状
答案: 【 面积比;
雷诺数;
取压方式;
孔口形状】
18、多选题:
(多选)以下各项中哪几项是设计孔板时应考虑的( )
选项:
A: 尽量使流量系数不随雷诺数而变
B: 尽可能减小阻力损失
C: 尽量减小管子的相对粗糙度
D: 尽量保证压差的测量精度
答案: 【 尽量使流量系数不随雷诺数而变;
尽可能减小阻力损失;
尽量保证压差的测量精度】
1、单选题:
(单选)往复泵与离心泵在如下哪一方面是相似的()
选项:
A: 结构
B: 工作原理
C: 液体获得的机械能的形式
D: 液体获能的方式
答案: 【 液体获得的机械能的形式】
2、单选题:
(单选)如下哪一项说的不是往复泵和离心泵两者的不同()
选项:
A: 往复泵用活塞挤压液体,直接向液体提供静压能
B: 往复泵吸、排液量不均匀
C: 离心泵中液体的静压能主要来自于动能的转换
D: 液体从离心泵获得的机械能中以静压能为主
答案: 【 液体从离心泵获得的机械能中以静压能为主】
3、单选题:
(单选)如下关于隔膜泵的说法,错误的是()
选项:
A: 隔膜泵是往复泵的一种
B: 隔膜泵的吸、排液的均匀性比活塞式往复泵好
C: 隔膜泵适合用于输送腐蚀性的液体
D: 隔膜泵工作时活柱不与被输送液体接触
答案: 【 隔膜泵的吸、排液的均匀性比活塞式往复泵好】
4、单选题:
(单选)往复泵的容积效率达不到百分之百的主要原因是()*
选项:
A: 吸、排液活门的启闭与活塞的往复运动不同步
B: 吸、排液活门有时卡住或粘连在泵缸上
C: 活塞往复运动受摩擦阻力,造成了机械能损失
D: 往复泵的吸、排液不连续
答案: 【 吸、排液活门的启闭与活塞的往复运动不同步】
5、单选题:
(单选)往复泵的H-qV线是一条()
选项:
A: 水平线
B: 竖直线
C: 单调下降的二次曲线
D: 单调下降的直线
答案: 【 竖直线】
6、单选题:
(单选)既使采用了双动的形式,往复泵的瞬时流量也是不均匀的,主要原因是()
选项:
A: 活塞的运动并非匀速
B: 吸、排液活门的启闭与活塞的往复运动不同步
C: 吸、排液活门有时卡住或粘连在泵缸上
D: 那三个说法都不对
答案: 【 活塞的运动并非匀速】
7、单选题:
(单选)当往复泵的流量增大时,其压头()*
选项:
A: 增大
B: 减小
C: 不变
D: 无法确定
答案: 【 增大】
8、单选题:
(单选)如果有人在往复泵运行过程中关闭了出口管线上的阀门,则()*
选项:
A: 流量为零
B: 压头为零
C: 设备、管线损坏
D: 不好说
答案: 【 设备、管线损坏】
9、单选题:
(单选)当关小往复泵出口管路上的阀门时,()*
选项:
A: 流量减小,压头升高
B: 流量减小,压头降低
C: 流量不变,压头升高
D: 流量不变,压头降低
答案: 【 流量不变,压头升高】
10、单选题:
(单选)往复泵的流量不应采用如下哪种方法调节()
选项:
A: 调节活塞(活柱)的往复频率
B: 调节活塞(活柱)的位移
C: 改变旁路管线上阀门的开度
D: 改变出口管线上阀门的开度
答案: 【 改变出口管线上阀门的开度】
11、单选题:
(单选)与离心泵相比,往复泵在性能方面的特点是()
选项:
A: 流量较大,压头较高
B: 流量较小,压头较高
C: 流量较大,压头较低
D: 流量较小,压头较低
答案: 【 流量较小,压头较高】
12、单选题:
(单选)如下各项中,哪一项不可能发生在计量泵上()
选项:
A: 活塞或柱塞式往复泵
B: 隔膜泵
C: 采用精确的调冲程机构
D: 瞬时流量均匀
答案: 【 瞬时流量均匀】
13、单选题:
(单选) 往复泵适用于()
选项:
A: 大流量且流量要求特别均匀的场合
B: 介质腐蚀性特别强的场合
C: 流量不大,压头较高的场合
D: 投资较小的场合
答案: 【 流量不大,压头较高的场合】
14、多选题:
(多选)如下各种液体中,哪几种不适合用活塞式往复泵输送()*
选项:
A: 黏度较高的液体
B: 具有腐蚀性的液体
C: 含大量固体颗粒的液体
D: 含热敏性物质的液体
答案: 【 具有腐蚀性的液体;
含大量固体颗粒的液体】
15、多选题:
(多选)考虑双动活塞式往复泵的理论平均流量,如下各项中,与其有关的有()
选项:
A: 活塞往复的频率
B: 活塞和活塞杆的截面积
C: 吸、排液管的直径
D: 活塞的位移
答案: 【 活塞往复的频率;
活塞和活塞杆的截面积;
活塞的位移】
16、多选题:
(多选)如下各措施中,哪几种不能使往复泵排液流量发生变化?()*
选项:
A: 改变通往需液设备的管线上阀门的开度
B: 改变旁路阀门的开度
C: 增大需液设备内的压强
D: 增大供液设备内的压强
答案: 【 改变通往需液设备的管线上阀门的开度;
改变旁路阀门的开度;
增大需液设备内的压强;
增大供液设备内的压强】
17、多选题:
(多选)比较往复泵和离心泵,如下各项中,哪几项是他们的相同之处()*
选项:
A: 安装高度有一定的限制
B: 有自吸能力
C: 启动前必须关闭出口阀
D: 可通过旁路来调节通往需液设备的液体流量
答案: 【 安装高度有一定的限制;
可通过旁路来调节通往需液设备的液体流量】
18、多选题:
(多选)如下各项中,哪几项可被视为往复泵的特点()*
选项:
A: 流量不很大
B: 压头很高
C: 流量不均匀
D: 送液量精确
答案: 【 流量不很大;
压头很高;
流量不均匀;
送液量精确】
1、单选题:
(单选)如下哪个问题的解决无需使用管路的机械能衡算式()
备案号:冀ICP备20010840号 2020-2099辉辉网络科技 All Rights Reserved