

1、单选题:
螺纹的5个要素包括:
选项:
A: 牙型、中径、线数、螺距、旋向
B: 牙型、公称直径、导程、螺距、旋向
C: 牙型、公称直径、线数、螺距、旋向
D: none
答案: 【 牙型、公称直径、线数、螺距、旋向】
2、单选题:
螺纹的五个要素中,有三个要素是决定螺纹的最基本要素,只要这三要素符合标准,该螺纹就称为标准螺纹。这三个要素分别是:
选项:
A: 牙型、直径、螺距
B: 牙型、旋向、线数
C: 牙型、直径、旋向
D: None
答案: 【 牙型、直径、螺距】
3、单选题:
普通螺纹的牙型是什么形状?
选项:
A: 矩形
B: 梯形
C: 三角形
D: None
答案: 【 三角形】
4、单选题:
普通螺纹的牙型角是多少度?
选项:
A: 55°
B: 60°
C: 30°
D: 45°
答案: 【 60°】
5、单选题:
梯形螺纹的牙型角是多少度?
选项:
A: 60°
B: 45°
C: 55°
D: 30°
答案: 【 30°】
6、单选题:
普通螺纹的特征代号是:
选项:
A: B
B: Rc
C: Tr
D: M
答案: 【 M 】
7、单选题:
梯形螺纹的特征代号是:
选项:
A: M
B: B
C: Tr
D: G
答案: 【 Tr】
8、单选题:
55°非螺纹密封的管螺纹,特征代号是:
选项:
A: Rc
B: Rp
C: G
D: R1
答案: 【 G】
9、单选题:
锯齿形螺纹的特征代号是:
选项:
A: Tr
B: B
C: G
D: M
答案: 【 B 】
10、单选题:
图中的尺寸是螺纹的()。

选项:
A: 大径
B: 中径
C: 小径
D: None
答案: 【 中径】
11、多选题:
哪种螺纹的牙型是三角形?
选项:
A: 普通螺纹
B: 55°密封的管螺纹
C: 55°非密封的管螺纹
D: 梯形螺纹
答案: 【 普通螺纹;
55°密封的管螺纹;
55°非密封的管螺纹】
12、多选题:
常见的传动螺纹主要包括:
选项:
A: 普通螺纹
B: 管螺纹
C: 梯形螺纹
D: 锯齿形螺纹
答案: 【 梯形螺纹;
锯齿形螺纹】
13、多选题:
常见的连接螺纹主要包括:
选项:
A: 普通螺纹
B: 管螺纹
C: 梯形螺纹
D: 锯齿形螺纹
答案: 【 普通螺纹;
管螺纹】
14、多选题:
螺纹的主要用途有:
选项:
A: 连接
B: 传递运动
C: 传递动力
D: 紧固
答案: 【 连接;
传递运动;
传递动力;
紧固】
15、判断题:
普通螺纹的公称直径是螺纹的中径。
选项:
A: 正确
B: 错误
答案: 【 错误】
16、判断题:
管螺纹的公称直径是管子的大径。
选项:
A: 正确
B: 错误
答案: 【 错误】
17、判断题:
管螺纹的的公称直径是管子的通径。
选项:
A: 正确
B: 错误
答案: 【 正确】
18、判断题:
螺距是相邻两牙在大径线上对应两点间的轴向距离。
选项:
A: 正确
B: 错误
答案: 【 错误】
19、判断题:
当螺纹为多线螺纹时,螺距=导程x线数。
选项:
A: 正确
B: 错误
答案: 【 错误】
20、判断题:
如果要使内外螺纹正确旋合在一起构成螺纹副,只要保证内外螺纹的牙型、直径、螺距这三个要素一致即可。
选项:
A: 正确
B: 错误
答案: 【 错误】
21、判断题:
粗牙普通螺纹的螺距有多种规格。
选项:
A: 正确
B: 错误
答案: 【 错误】
22、判断题:
细牙普通螺纹的螺距有多种规格。
选项:
A: 正确
B: 错误
答案: 【 正确】
23、判断题:
螺纹只能在圆柱表面上加工。
选项:
A: 正确
B: 错误
答案: 【 错误】
24、判断题:
顺时针旋转时旋入的螺纹称为左旋螺纹。
选项:
A: 正确
B: 错误
答案: 【 错误】
25、判断题:
右旋螺纹规定在螺纹标记中“RH”必须标注,不能省略。
选项:
A: 正确
B: 错误
答案: 【 错误】
26、判断题:
图(1)所示为左旋螺纹。

选项:
A: 正确
B: 错误
答案: 【 正确】
27、判断题:
图(2)所示为左旋螺纹。

选项:
A: 正确
B: 错误
答案: 【 错误】
28、判断题:
多线螺纹每旋转一周, 能在轴向上移动1个螺距。
选项:
A: 正确
B: 错误
答案: 【 错误】
1、多选题:
参考下图,普通螺纹需要标注哪些尺寸

选项:
A: 公称直径
B: 螺纹长度
C: 倒角(如果有)尺寸
D: 退刀槽(如果有)尺寸
答案: 【 公称直径;
螺纹长度;
倒角(如果有)尺寸;
退刀槽(如果有)尺寸】
2、多选题:
选出尺寸标注错误的图

选项:
A: (1)
B: (2)
C: (3)
D: none
答案: 【 (1);
(3)】
3、多选题:
选择尺寸标注正确的图

选项:
A: (1)
B: (2)
C: (3)
D: none
答案: 【 (1);
(3)】
4、判断题:
图中的倒角标注正确。

选项:
A: 正确
B: 错误
答案: 【 正确】
5、判断题:
图中的倒角标注正确。

选项:
A: 正确
B: 错误
答案: 【 正确】
6、判断题:
图中的尺寸标注正确。

选项:
A: 正确
B: 错误
答案: 【 错误】
7、判断题:
图中的尺寸标注正确。

选项:
A: 正确
B: 错误
答案: 【 正确】
8、判断题:
图中的标注正确。

选项:
A: 正确
B: 错误
答案: 【 错误】
9、判断题:
螺纹长度尺寸包括螺尾。
选项:
A: 正确
B: 错误
答案: 【 错误】
10、判断题:
图样中可不绘制螺尾。
选项:
A: 正确
B: 错误
答案: 【 正确】
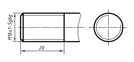
11、判断题:
判断图中螺纹尺寸标注是否正确。
已知粗牙普通螺纹:大径16mm,螺距2,中径、顶径公差带代号为5g、6g,螺纹长度为20mm。

选项:
A: 正确
B: 错误
答案: 【 正确】
12、判断题:
判断图中螺纹尺寸标注是否正确。
已知粗牙普通螺纹:大径16mm,螺距2,中径、顶径公差带代号为5g、6g,螺纹长度为20mm。

选项:
A: 正确
B: 错误
答案: 【 错误】
13、判断题:
判断图中螺纹尺寸标注是否正确。
已知粗牙普通螺纹:大径16mm,螺距2,中径、顶径公差带代号为5g、6g,螺纹长度为20mmm。

选项:
A: 正确
B: 错误
答案: 【 错误】
14、判断题:
判断图中螺纹尺寸标注是否正确。
已知粗牙普通螺纹:大径16mm,螺距2,中径、顶径公差带代号为5g、6g,螺纹长度为20mm。

选项:
A: 正确
B: 错误
答案: 【 错误】
15、判断题:
判断图中螺纹尺寸标注是否正确。
已知普通螺纹的螺孔:公称直径20mm,螺距2,中径和顶径公差带代号为5H、6H,螺孔深度为35mm,钻孔深度为42mm。

选项:
A: 正确
B: 错误
答案: 【 错误】
16、判断题:
判断图中螺纹尺寸标注是否正确。
已知粗牙普通螺纹的螺孔:公称直径20mm,螺距2.5,中径和顶径公差带代号为5H、6H,螺孔深度为35mm,钻孔深度为42mm。

选项:
A: 正确
B: 错误
答案: 【 错误】
17、判断题:
判断图中螺纹尺寸标注是否正确。
已知粗牙普通螺纹的螺孔:公称直径20mm,螺距2.5,中径和顶径公差带代号为5H、6H,螺孔深度为35mm,钻孔深度为42mm。

选项:
A: 正确
B: 错误
答案: 【 错误】
18、判断题:
判断图中螺纹尺寸标注是否正确。
已知粗牙普通螺纹的螺孔:公称直径20mm,螺距2.5,中径和顶径公差带代号为5H、6H,螺孔深度为35mm,钻孔深度为42mm。

选项:
A: 正确
B: 错误
答案: 【 错误】
19、判断题:
判断图中螺纹尺寸标注是否正确。
已知细牙普通螺纹:大径16mm,螺距1,中径、顶径公差带代号为5g、6g,螺纹长度为20mm。

选项:
A: 正确
B: 错误
答案: 【 错误】
20、判断题:
判断图中螺纹尺寸标注是否正确。
已知细牙普通螺纹:大径16mm,螺距1,中径、顶径公差带代号为5g、6g,螺纹长度为20mm。

选项:
A: 正确
B: 错误
答案: 【 正确】
21、判断题:
判断图中倒角尺寸是否合适。
已知图中所示为普通螺纹,大径为16mm,查表知其小径为13.835mm。

选项:
A: 正确
B: 错误
答案: 【 错误】
22、判断题:
判断图中倒角尺寸是否合适。
已知图中所示为普通螺纹,大径为16mm,查表知其小径为13.835mm。

选项:
A: 正确
B: 错误
答案: 【 正确】
23、判断题:
判断管螺纹的标注是否正确。

选项:
A: 正确
B: 错误
答案: 【 错误】
24、判断题:
判断图中螺纹尺寸标注是否正确

选项:
A: 正确
B: 错误
答案: 【 正确】
25、判断题:
判断图中螺纹尺寸标注是否正确

选项:
A: 正确
B: 错误
答案: 【 错误】
1、单选题:
根据螺纹标记M10,该螺纹是
选项:
A: 普通螺纹
B: 梯形螺纹
C: 锯齿形螺纹
D: 用螺纹密封的管螺纹
E: 方牙螺纹
F: 非螺纹密封的管螺纹
答案: 【 普通螺纹】
2、单选题:
根据螺纹标记Tr48X16(P8)LH,该螺纹是
选项:
A: 普通螺纹
B: 梯形螺纹
C: 锯齿形螺纹
D: 方牙螺纹
E: 用螺纹密封的管螺纹
F: 非螺纹密封的管螺纹
答案: 【 梯形螺纹】
3、单选题:
根据螺纹标记B32X6LH-7e,该螺纹是
选项:
A: 普通螺纹
B: 梯形螺纹
C: 锯齿形螺纹
D: 方牙螺纹
E: 用螺纹密封的管螺纹
F: 非螺纹密封的管螺纹
答案: 【 锯齿形螺纹】
4、单选题:
哪种螺纹为非标准螺纹?
选项:
A: 普通螺纹
B: 梯形螺纹
C: 锯齿形螺纹
D: 方牙螺纹
E: 用螺纹密封的管螺纹
F: 用螺纹密封的管螺纹
答案: 【 方牙螺纹】
5、单选题:
根据螺纹标记G 1/2 A ,该螺纹是
选项:
A: 普通螺纹
B: 梯形螺纹
C: 锯齿形螺纹
D: 方牙螺纹
E: 用螺纹密封的管螺纹
F: 非螺纹密封的管螺纹
答案: 【 非螺纹密封的管螺纹】
6、单选题:
根据螺纹标记Rc 3/4,该螺纹是
选项:
A: 普通螺纹
B: 梯形螺纹
C: 锯齿形螺纹
D: 方牙螺纹
E: 用螺纹密封的管螺纹
F: 非螺纹密封的管螺纹
答案: 【 用螺纹密封的管螺纹】
7、单选题:
根据螺纹标记“M16X1-5g6g-S”,该螺纹为
选项:
A: 粗牙螺纹
B: 细牙螺纹
C: none
D: none
答案: 【 细牙螺纹】
8、单选题:
根据螺纹标记“M16X1-5g6g-S”,该螺纹的螺距为
选项:
A: 0.5
B: 1
C: 1.5
D: 2
答案: 【 1】
9、单选题:
根据螺纹标记“M16X1-5g6g-S”,该螺纹为
选项:
A: 左旋螺纹
B: 右旋螺纹
C: none
D: none
答案: 【 右旋螺纹】
10、单选题:
根据螺纹标记“M16X1-5g6g-S”,该螺纹为
选项:
A: 外螺纹
B: 内螺纹
C: none
D: none
答案: 【 外螺纹】
11、单选题:
根据螺纹标记“M16X1-5g6g-S”,该螺纹的旋合长度代号S表示
选项:
A: 中等旋合长度
B: 长旋合长度
C: 短旋合长度
D: none
答案: 【 短旋合长度】
12、单选题:
根据螺纹标记“M16X1-5g6g-S”,该螺纹的中径公差带代号为
选项:
A: 5g
B: 6g
C: none
D: none
答案: 【 5g】
13、单选题:
根据螺纹标记“M16X1-5g6g-S”,该螺纹的顶径公差带代号为
选项:
A: 5g
B: 6g
C: none
D: none
答案: 【 6g】
14、单选题:
根据螺纹标记“M16X1-5g6g-S”,该螺纹的线数为
选项:
A: 1
B: 2
C: 3
D: 4
答案: 【 1】
15、单选题:
管螺纹标记中Rc表示
选项:
A: 圆锥内螺纹
B: 圆柱内螺纹
C: 与圆柱内螺纹配合的圆锥外螺纹
D: 与圆锥内螺纹配合的圆锥外螺纹
答案: 【 圆锥内螺纹】
16、单选题:
管螺纹标记中Rp表示
选项:
A: 圆锥内螺纹
B: 圆柱内螺纹
C: 与圆柱内螺纹配合的圆锥外螺纹
D: 与圆锥内螺纹配合的圆锥外螺纹
答案: 【 圆柱内螺纹】
17、单选题:
管螺纹标记中R1表示
选项:
A: 圆锥内螺纹
B: 圆柱内螺纹
C: 与圆柱内螺纹配合的圆锥外螺纹
D: 与圆锥内螺纹配合的圆锥外螺纹
答案: 【 与圆柱内螺纹配合的圆锥外螺纹】
18、单选题:
管螺纹标记中R2表示
选项:
A: 圆锥内螺纹
B: 圆柱内螺纹
C: 与圆柱内螺纹配合的圆锥外螺纹
D: 与圆锥内螺纹配合的圆锥外螺纹
答案: 【 与圆锥内螺纹配合的圆锥外螺纹】
19、单选题:
根据螺纹标记G 1/2,该螺纹是
选项:
A: 55°用螺纹密封的管螺纹
B: 55°非螺纹密封的管螺纹
C: none
D: none
答案: 【 55°非螺纹密封的管螺纹】
20、单选题:
G 1/2是( )管螺纹
选项:
A: 内
B: 外
C: none
D: none
答案: 【 内】
21、单选题:
管螺纹 G 1/2,其中1/2,是管螺纹的
选项:
A: 尺寸代号
B: 公称直径
C: none
D: none
答案: 【 尺寸代号】
22、单选题:
管螺纹 G 1/2,其中1/2,单位为
选项:
A: 毫米
B: 英寸
C: none
D: none
答案: 【 英寸】
23、单选题:
管螺纹 G 1/2,其中1/2,指
选项:
A: 螺纹大径
B: 管子的通径
C: none
D: none
答案: 【 管子的通径】
24、单选题:
管螺纹 G 1/2, 它的螺纹是
选项:
A: 圆柱螺纹
B: 圆锥螺纹
C: none
D: none
答案: 【 圆柱螺纹】
25、单选题:
根据螺纹标记“Tr40X14(P7)LH-8e”,该螺纹螺距为
选项:
A: 7
B: 14
C: 2
D: none
答案: 【 7】
26、单选题:
普通螺纹的特征代号是
选项:
A: M
B: Tr
C: B
D: G
E: Rc
F: Rp
G: R1和R2
答案: 【 M】
27、单选题:
梯形螺纹的特征代号是
选项:
A: M
B: Tr
C: B
D: G
E: Rc
F: Rp
G: R1和R2
答案: 【 Tr】
28、单选题:
锯齿形螺纹的特征代号是
选项:
A: M
B: Tr
C: B
D: Rc
E: Rp
F: R1和R2
答案: 【 B】
29、单选题:
55°非螺纹密封管螺纹的特征代号是
选项:
A: M
B: Tr
C: B
D: G
E: Rc
F: Rp
G: R1和R2
答案: 【 G】
30、多选题:
55°用螺纹密封的管螺纹的特征代号可能是
选项:
A: Rc
B: Rp
C: R1
D: R2
E: G
答案: 【 Rc;
Rp;
R1;
R2】
31、判断题:
根据螺纹标记G 1/2 A ,该螺纹为外管螺纹。
选项:
A: 正确
B: 错误
答案: 【 正确】
32、判断题:
根据螺纹标记G 1/2 A ,该螺纹为内管螺纹。
选项:
A: 正确
B: 错误
答案: 【 错误】
33、判断题:
根据螺纹标记“M16X1-5g6g-S”,该螺纹的大径为16
选项:
A: 正确
B: 错误
答案: 【 正确】
34、判断题:
普通螺纹的公称直径是螺纹的大径。
选项:
A: 正确
B: 错误
答案: 【 正确】
35、填空题:
根据螺纹标记“M20”,选择括号中的词语填空(粗牙螺纹;细牙螺纹)。该螺纹为________。
答案: 【 粗牙螺纹】
36、填空题:
根据螺纹标记“M20”,查教材附录C,该螺纹的螺距为________。
答案: 【 2.5】
37、填空题:
根据螺纹标记“M20”,选择括号中的词语填空(左旋螺纹;右旋螺纹)。该螺纹为________。
答案: 【 右旋螺纹】
38、填空题:
根据螺纹标记“M20”,该螺纹的大径为________。
答案: 【 20】
39、填空题:
根据螺纹标记“M20”,选择括号中的词语填空(中等;长;短)。该螺纹的旋合长度为________旋合长度。
答案: 【 中等】
40、填空题:
根据螺纹标记“M20”,该螺纹的线数为________。
答案: 【 1】
41、填空题:
根据螺纹标记“M20”,选择括号中的词语填空(5g;6g;5H;6H)。若该螺纹为内螺纹,其中径公差带代号为________。
答案: 【 6H】
42、填空题:
根据螺纹标记“M20”,选择括号中的词语填空(5g;6g;5H;6H)。若该螺纹为内螺纹,其顶径公差带代号为________。
答案: 【 6H】
43、填空题:
根据螺纹标记“M20”,选择括号中的词语填空(5g;6g;5H;6H)。若该螺纹为外螺纹,其中径公差带代号为________。
答案: 【 6g】
44、填空题:
根据螺纹标记“M20”,选择括号中的词语填空(5g;6g;5H;6H)。若该螺纹为外螺纹,其顶径公差带代号为________。
答案: 【 6g】
45、填空题:
根据螺纹标记“Tr40X14(P7)LH-8e”,选择括号中的词语填空(单线;双线)。该螺纹为________。
答案: 【 双线】
46、填空题:
根据螺纹标记“Tr40X14(P7)LH-8e”,该螺纹的螺距为________。
答案: 【 7】
47、填空题:
根据螺纹标记“Tr40X14(P7)LH-8e”,该螺纹的导程为________。
答案: 【 14】
48、填空题:
根据螺纹标记“Tr40X14(P7)LH-8e”,选择括号中的词语填空(左旋;右旋)。该螺纹为________螺纹。
答案: 【 左旋】
49、填空题:
根据螺纹标记“Tr40X14(P7)LH-8e”,该螺纹的大径为________。
答案: 【 40】
50、填空题:
根据螺纹标记“Tr40X14(P7)LH-8e”,选择括号中的词语填空(中等;长;短)。该螺纹的旋合长度为________旋合长度。
答案: 【 中等】
51、填空题:
根据螺纹标记“Tr40X14(P7)LH-8e”,选择括号中的词语填空(外螺纹;内螺纹)。该螺纹为________。
答案: 【 外螺纹】
52、填空题:
根据螺纹标记“Tr40X14(P7)LH-8e”,选择括号中的词语填空(中径;顶径)。8e为该螺纹的________公差带代号。
答案: 【 中径】
1、单选题:
外螺纹的画法参见下图,绿色图线表示

选项:
A: 倒角结构
B: 退刀槽结构
C: 螺尾
D: none
答案: 【 倒角结构】
2、单选题:
外螺纹的画法参见下图,红色图线表示

选项:
A: 螺纹大径
B: 螺纹小径
C: 螺纹终止线
D: none
答案: 【 螺纹小径】
3、单选题:
外螺纹的画法参见下图,天蓝色图线表示

选项:
A: 螺纹大径
B: 螺纹小径
C: 螺纹终止线
D: none
答案: 【 螺纹终止线】
4、单选题:
外螺纹的画法参见下图,兰色图线表示

选项:
A: 螺纹大径
B: 螺纹小径
C: none
D: 螺纹终止线
答案: 【 螺纹大径】
5、单选题:
外螺纹的画法参见下图,黑色图线表示

选项:
A: 倒角
B: 退刀槽
C: 螺尾
D: none
答案: 【 螺尾】
6、单选题:
外螺纹大径用( )绘制
选项:
A: 粗实线
B: 细实线
C: 细虚线
D: 粗虚线
答案: 【 粗实线】
7、单选题:
外螺纹小径用( )绘制
选项:
A: 粗实线
B: 细实线
C: 细虚线
D: 粗虚线
答案: 【 细实线】
8、单选题:
在剖视图中,内螺纹大径用( )绘制
选项:
A: 粗实线
B: 细实线
C: 细虚线
D: 粗虚线
答案: 【 细实线】
9、单选题:
在剖视图中,内螺纹小径用( )绘制
选项:
A: 粗实线
B: 细实线
C: 细虚线
D: 粗虚线
答案: 【 粗实线】
10、单选题:
在剖视图中,内螺纹螺纹终止线用( )绘制
选项:
A: 粗实线
B: 细实线
C: 细虚线
D: 粗虚线
答案: 【 粗实线】
11、单选题:
外螺纹螺纹终止线用( )绘制
选项:
A: 粗实线
B: 细实线
C: 细虚线
D: 粗虚线
答案: 【 粗实线】
12、单选题:
方牙螺纹在画法上与标准螺纹相比
选项:
A: 没有区别
B: 需要绘制局部剖视图或局部放大图表示螺纹的方牙
C: 方牙牙形不必绘制
D: none
答案: 【 需要绘制局部剖视图或局部放大图表示螺纹的方牙】
13、单选题:
表达内、外螺纹连接时,其旋合部分按( )绘制。
选项:
A: 外螺纹
B: 内螺纹
C: none
D: none
答案: 【 外螺纹】
14、单选题:
下面哪一组螺纹画法正确?

选项:
A: (1)
B: (2)
C: (3)
D: None
答案: 【 (3)】
15、单选题:
以下哪个图形是螺纹连接正确的画法?

选项:
A: (1)
B: (2)
C: (3)
D: None
答案: 【 (2)】
16、单选题:
下图所示的管螺纹的画法哪一个是正确的

选项:
A: (1)
B: (2)
C: (3)
D: 都不对
答案: 【 都不对】
17、单选题:
下图所示的管螺纹的画法哪一个是正确的

选项:
A: (1)
B: (2)
C: (3)
D: 都不对
答案: 【 (3)】
18、单选题:
下面圆锥螺纹的画法哪一个是正确的

选项:
A: (1)
B: (2)
C: 都正确
D: 都不正确
答案: 【 (2)】
19、单选题:
下面圆锥螺纹孔的画法哪一个是正确的

选项:
A: (1)
B: (2)
C: 都正确
D: 都不正确
答案: 【 (2)】
20、单选题:
下面圆锥螺纹孔的画法哪一个是正确的

选项:
A: (1)
B: (2)
C: 都正确
D: 都不正确
答案: 【 (1)】
21、单选题:
下图表示两个螺纹孔相贯的图形正确的是

选项:
A: (1)
B: (2)
C: (3)
D: 都不正确
答案: 【 (2)】
22、单选题:
下图表示螺纹孔和光孔相贯的图形正确的是

选项:
A: (1)
B: (2)
C: (3)
D: 都不正确
答案: 【 (1)】
23、单选题:
下图的图形正确的是

选项:
A: (1)
B: (2)
C: (3)
D: 都不正确
答案: 【 (2)】
24、单选题:
下面的图形正确的是

选项:
A: (1)
B: (2)
C: (3)
D: 都不正确
答案: 【 (2)】
25、单选题:
选择正确的断面图。

选项:
A: (1)
B: (2)
C: (3)
D: None
答案: 【 (1)】
26、多选题:
方牙螺纹用剖视图绘制,作用在于
选项:
A: 表达了牙形
B: 方便标注方牙尺寸
C: none
D: none
答案: 【 表达了牙形;
方便标注方牙尺寸】
27、判断题:
螺纹的端面视图(侧面视图)倒角圆不必绘制。
选项:
A: 正确
B: 错误
答案: 【 正确】
28、判断题:
螺纹的端面视图(侧面视图)要绘制出倒角圆。
选项:
A: 正确
B: 错误
答案: 【 错误】
29、判断题:
外螺纹的端面视图中,大径要画成四分之三细实线圆。
选项:
A: 正确
B: 错误
答案: 【 错误】
30、判断题:
外螺纹的端面视图中,小径要画成四分之三细实线圆。
选项:
A: 正确
B: 错误
答案: 【 正确】
31、判断题:
内螺纹的端面视图中,大径要画成四分之三细实线圆。
选项:
A: 正确
B: 错误
答案: 【 正确】
32、判断题:
内螺纹的端面视图中,小径要画成四分之三细实线圆。
选项:
A: 正确
B: 错误
答案: 【 错误】
33、判断题:
判断正误。

选项:
A: 正确
B: 错误
答案: 【 错误】
34、判断题:
判断正误。

选项:
A: 正确
B: 错误
答案: 【 错误】
35、判断题:
判断正误。

选项:
A: 正确
B: 错误
答案: 【 错误】
36、判断题:
判断正误。

选项:
A: 正确
B: 错误
答案: 【 错误】
37、判断题:
判断正误。

选项:
A: 正确
B: 错误
答案: 【 错误】
1、单选题:
下面的铸件结构较为合理的是
选项:
A: (1)
B: (2)
C: 都合理
D: 都不合理
答案: 【 (1)】
2、单选题:
图中尺寸为6X1.5部分的结构叫

选项:
A: 砂轮越程槽
B: 螺纹退刀槽
C: 倒角
D: none
答案: 【 螺纹退刀槽】
3、单选题:
根据铸件局部结构的剖视,判断下图哪种结构较为合理

备案号:冀ICP备20010840号 2020-2099辉辉网络科技 All Rights Reserved