

1、单选题:
这是球阀三维模型及其爆炸图,球阀通过阀体、阀盖的螺纹与水平管道连接。阀盖的主视图正确的是( )。(图片中的比例不一致,忽略不计哟)

选项:
A: 
B: 
C: 
D: 
答案: 【
】
2、单选题:
这是球阀三维模型及其爆炸图,球阀通过阀体、阀盖的螺纹与水平管道连接。阀体的主视图正确的是( )。(图片中的比例不一致,忽略不计哟)

选项:
A: 
B: 
C: 
D: 
答案: 【
】
3、单选题:
确定零件的表达方案时,需恰当地处理好看图方便和制图简便两个原则。
选项:
A: 首先考虑制图简便原则,其次考虑看图方便原则。
B: 首先考虑看图方便原则,其次考虑制图简便原则。
C: 根据零件的结构特征,酌情选用制图简便或看图方便。
D: 无正确选项
答案: 【 首先考虑看图方便原则,其次考虑制图简便原则。】
4、单选题:
图示为托架的立体图,由A、B两面相互垂直的安装板、支承肋板、支承孔三部分组成。通过底部的安装孔装在某一零件上,其上的A、B面与某一零件贴紧。其主视图摆放位置正确的是( )。(图片中的比例不一致,忽略不计哟)

选项:
A: 
B: 
C: 
D: 
答案: 【
】
5、单选题:
看懂下图表达的座体零件,标注的对称尺寸错误有( )处。

选项:
A: 3
B: 4
C: 5
D: 6
答案: 【 4】
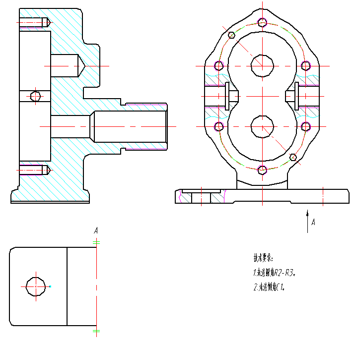
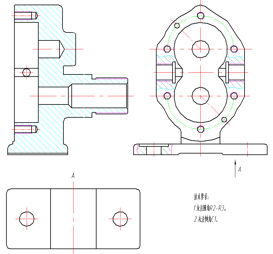
6、单选题:
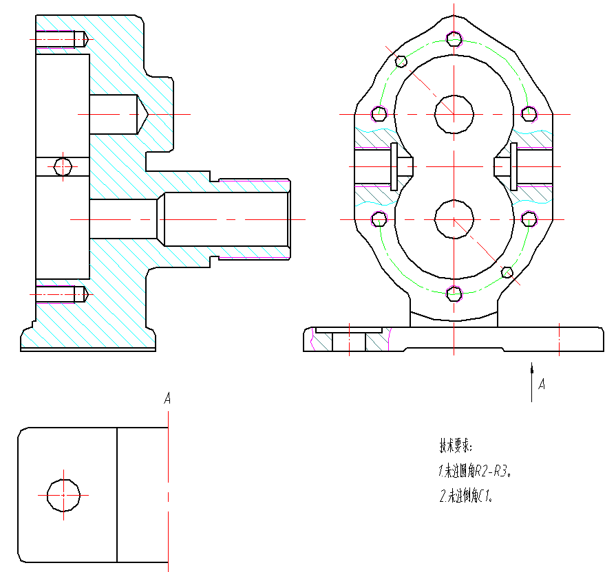
参照泵体的立体模型,将泵体结构表达清楚的方案有()。通过标注直径可以确定的圆柱结构,默认表达清楚。


选项:
A: 
B: 
C: 
D: 
答案: 【
】
7、单选题:
这是球阀三维模型及其爆炸图,球阀通过阀体、阀盖的螺纹与水平管道连接。阀杆的主视图正确的是( )。(图片中的比例不一致,忽略不计哟)

选项:
A: 
B: 
C: 
D: 
答案: 【
】
8、多选题:
铸件的壁厚应设计均匀,还应避免在起模方向上出现内凹结构及在铸件内壁上设置加工面。下列正确的设计结构有( )。
选项:
A: 
B: 
C: 
D: 
答案: 【
;
】
9、多选题:
由于铸造圆角的影响,铸件表面的截交线、相贯线变得不明显。这些线称为过渡线,下列画法正确的有( )。
选项:
A: 
B: 
C: 
D: 
答案: 【
;
】
10、多选题:
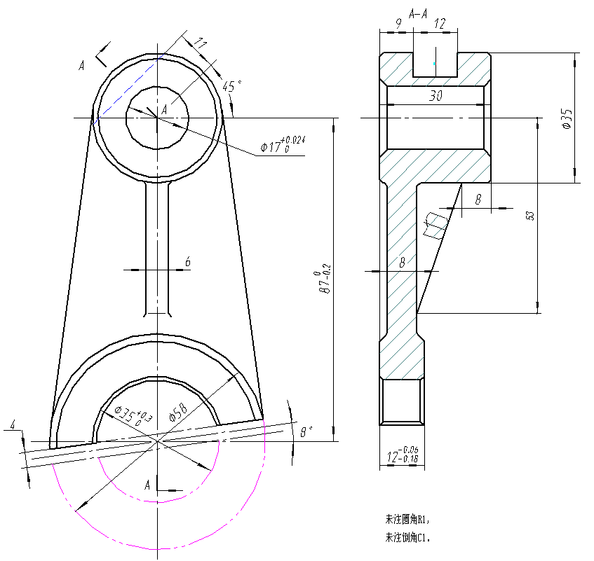
看到拔叉零件图,下列说法正确的有( )。

选项:
A: 图中未注圆角、倒角是工艺结构。
B: 零件三维建模时,完成主体结构以后, 工艺圆角、倒角采用圆角、倒角特征创建。
C: 图中连接圆筒和半圆筒的支撑板和肋板的厚度设计不合理。
D: 图中过渡线的画法正确。
答案: 【 图中未注圆角、倒角是工艺结构。;
零件三维建模时,完成主体结构以后, 工艺圆角、倒角采用圆角、倒角特征创建。;
图中过渡线的画法正确。】
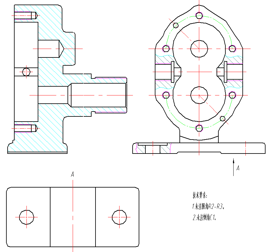
11、多选题:
参照泵体的立体模型,将泵体结构表达清楚的方案有()。通过标注直径可以确定的圆柱结构,默认表达清楚。


选项:
A: 
B: 
C: 
D: 
答案: 【
;
】
12、多选题:
看懂泵盖零件图,下列说法正确的有( )。通过标注直径可以确定的圆柱结构,默认表达清楚。

选项:
A: 主视图表达泵盖的外形,左视图是全剖视图,表达孔的通与不通状况。
B: 图中的角度尺寸标注均正确
C: 图中两个35的尺寸,重复标注了,应该去掉1个
D: 安装孔有6个,其中沉头孔的深度为4、直径为11;定位尺寸有R25、35
答案: 【 主视图表达泵盖的外形,左视图是全剖视图,表达孔的通与不通状况。;
安装孔有6个,其中沉头孔的深度为4、直径为11;定位尺寸有R25、35】
13、多选题:
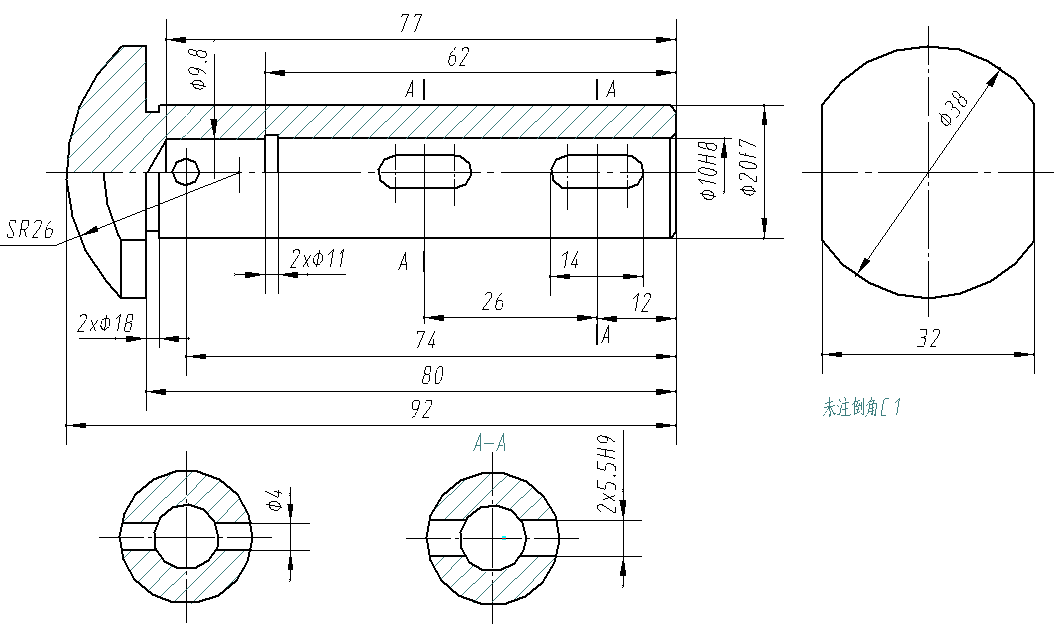
看懂套的零件图,下列说正确的有( )。

选项:
A: 图中有两处退刀槽,槽宽均为2mm.
B: 共有4个视图,其中主视图采用半剖视图,表达套的内外结构,左视图表达左端的结构;还有两个断面图,表达截断面的形状。
C: 套零件上有两处键槽结构。
D: 套的主题结构可以采用旋转特征完成建模。
答案: 【 图中有两处退刀槽,槽宽均为2mm.;
共有4个视图,其中主视图采用半剖视图,表达套的内外结构,左视图表达左端的结构;还有两个断面图,表达截断面的形状。;
套的主题结构可以采用旋转特征完成建模。】
14、多选题:
参照泵体的立体模型,将泵体结构表达清楚的方案有()。通过标注直径可以确定的圆柱结构,默认表达清楚。


选项:
A: 
B: 
C: 
D: 
答案: 【
;
;
】
15、判断题:
绘制技术图样时应遵循如下原则:(1)首先考虑看图方便;(2)根据零件的结构特点,选用适当的表达方法;(3)在完整、清晰、简便地表达零件形状的前提下,力求制图简便。
选项:
A: 正确
B: 错误
答案: 【 正确】
16、判断题:
绘制技术图样时,视图数量越少越好。
选项:
A: 正确
B: 错误
答案: 【 错误】
17、判断题:
看剖视图时,利用有、无剖面线的线框,可以分析“实体与空体”、“面的远、近”位置关系。
选项:
A: 正确
B: 错误
答案: 【 正确】
18、判断题:
绘制零件图时,零件在投影体系中的摆放位置只要考虑将零件摆放平稳即可。
选项:
A: 正确
B: 错误
答案: 【 错误】
19、判断题:
一零件图的标题栏中标注的比例为1:2。图样中的某一图形通过局部放大画出了该零件上的一细小结构,并在该图形上方标注了比例1:1,考虑到1:1属原值比例,故该图形实际上不属于局部放大图。
选项:
A: 正确
B: 错误
答案: 【 错误】
20、判断题:
一般的退刀槽可按“槽宽x直径”或“槽宽x槽深”的形式标注。
选项:
A: 正确
B: 错误
答案: 【 正确】
21、判断题:
图示为托架的立体图,由A、B两面相互垂直的安装板、支承肋板、支承孔三部分组成。通过底部的安装孔装在某一零件上,其上的A、B面与某一零件贴紧。
图中小圆圈住的结构是退刀槽工艺结构;退刀槽尺寸由设计者自行决定,只要有槽即可;可以采用局部放大图表达。

选项:
A: 正确
B: 错误
答案: 【 错误】
1、单选题:
零件按其在部件中所起的作用,以及其结构是否标准化,大致可分为三类:标准件、( )和一般零件。
选项:
A: 传动件
B: 拨叉件
C: 外购件
D: 非标件
答案: 【 传动件】
2、单选题:
下图采用游标卡尺测量标准齿轮的模数,所测尺寸为da,齿轮齿数为z,则齿轮模数为:( )
选项:
A: m=da/z
B: m=da/(z+1.25)
C: m=da/(z+2)
D: m=da/(z+1)
答案: 【 m=da/(z+2)】
3、单选题:
零件之间不要求相对运动、且不依靠配合传递动力时,通常选择( )
选项:
A: 过盈配合
B: 过渡配合
C: 间歇配合
D: 间隙配合
答案: 【 间隙配合】
4、单选题:
下列公差等级中,对于同一公称尺寸来说,( )对应的公差值最大。
选项:
A: IT01
B: IT1
C: IT18
D: IT15
答案: 【 IT18】
5、判断题:
装配图必须清晰、完整、准确地表达出装配体中所有零件的结构形状。
选项:
A: 正确
B: 错误
答案: 【 错误】
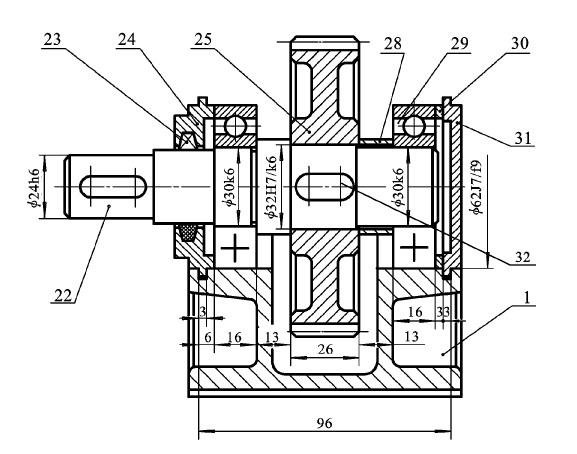
6、判断题:
下图为教材中的插图(P202, 图7-4),是减速器输出轴的局部装配图,30号零件的主要作用是调节轴系零件的轴向尺寸与箱体底座(1号零件)的两嵌槽之间的距离相等,这个说法是否正确?

选项:
A: 正确
B: 错误
答案: 【 正确】
7、判断题:
零件结构的产生除与相关零件的结构紧密关联之外,也与该零件的制造工艺和装配工艺密切关联。
选项:
A: 正确
B: 错误
答案: 【 正确】
8、判断题:
只能按照设计基准来标注零件的尺寸。
选项:
A: 正确
B: 错误
答案: 【 错误】
9、判断题:
一般而言,零件的尺寸标注也应考虑零件的加工顺序。
选项:
A: 正确
B: 错误
答案: 【 正确】
10、判断题:
按工艺基准标注零件的尺寸,可以方便零件的加工和测量。
选项:
A: 正确
B: 错误
答案: 【 正确】
11、判断题:
零部件测绘是绘制现有机器或部件或零件的零件图或装配图的过程。
选项:
A: 正确
B: 错误
答案: 【 正确】
12、判断题:
机器测绘可分为三类:现场测绘、仿制测绘和设计测绘。
选项:
A: 正确
B: 错误
答案: 【 错误】
13、判断题:
实样分解时,不需要考虑后续如何复原。
选项:
A: 正确
B: 错误
答案: 【 错误】
14、判断题:
装配示意图只是在绘制草图阶段有用,在绘制装配图时,并不需要。
选项:
A: 正确
B: 错误
答案: 【 错误】
15、判断题:
装配示意图以正投影为基础,但并不需要严格遵循投影关系。
选项:
A: 正确
B: 错误
答案: 【 错误】
16、判断题:
装配示意图时可假想装配体是透明的,既要画出其外部轮廓,又要画出内部结构。
选项:
A: 正确
B: 错误
答案: 【 正确】
17、判断题:
一般而言,拆卸零件与画装配示意图总是同时进行。
选项:
A: 正确
B: 错误
答案: 【 正确】
18、判断题:
装配示意图用于记录零件的装配位置、名称等。
选项:
A: 正确
B: 错误
答案: 【 正确】
19、判断题:
绘制零件草图时,对于一些主要尺寸,可以单纯靠测量得到。
选项:
A: 正确
B: 错误
答案: 【 错误】
20、判断题:
零件草图中不需要标注表面粗糙度。
选项:
A: 正确
B: 错误
答案: 【 错误】
1、单选题:
英制螺纹的牙形角正确的是
选项:
A: 60度
B: 55度
C: 30度
D: 45度
答案: 【 55度】
2、单选题:
以下正确的螺钉连接图是( )

选项:
A: A
B: B
C: C
D: D
答案: 【 B】
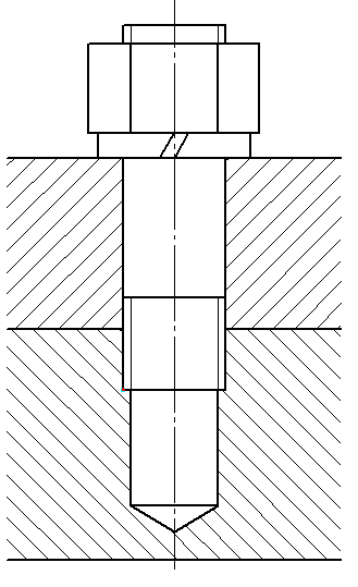
3、单选题:
以下螺钉连接图中存在多少处错误

选项:
A: 2处
B: 3处
C: 4处
D: 5处
答案: 【 5处】
4、单选题:
以下双头螺柱连接图中存在多少处错误

选项:
A: 2处
B: 3处
C: 4处
D: 5处
答案: 【 5处】
5、单选题:
单线螺纹的螺距( )导程。
选项:
A: 等于
B: 大于
C: 小于
D: 与导程无关
答案: 【 等于】
6、单选题:
当两个被连接件不太厚时,宜采用( )
选项:
A: 双头螺柱连接
B: 螺栓连接
C: 螺钉连接
D: 紧定螺钉联接
答案: 【 螺栓连接 】
7、单选题:
当两个被连接件之一太厚,不宜制成通孔,且需要经常拆装时,往往采用( )
选项:
A: 螺栓连接
B: 螺钉连接
C: 双头螺柱连接
D: 紧定螺钉联接
答案: 【 双头螺柱连接】
8、单选题:
当两个被连接件之一太厚,不宜制成通孔,且连接不需要经常拆装时,往往采用( )
选项:
A: 螺栓连接
B: 螺钉连接
C: 双头螺柱连接
D: 紧定螺钉联接
答案: 【 螺钉连接】
9、单选题:
平键标记:键B16X70 GB1096-79,B表示( )平键
选项:
A: 圆头
B: 单圆头
C: 方头
D: B级精度
答案: 【 方头】
10、单选题:
平键标记:键B16X70 GB1096-79,16×70表示( )。
选项:
A: 键宽X轴径
B: 键高X轴径
C: 键宽X键长
D: 键高X键长
答案: 【 键宽X键长】
11、单选题:
设计键连接时,键的截面尺寸bXh通常是根据( )由标准中选择。
选项:
A: 传递扭矩的大小
B: 传递功率的大小
C: 轴的直径
D: 轴的长度
答案: 【 轴的直径】
12、单选题:
普通平键连接的主要用途是使轴与轮毂之间( )
选项:
A: 沿轴向固定并传递轴向力
B: 沿轴向可做相对滑动并具有导向作用
C: 安装与拆卸方便
D: 沿周向固定并传递扭矩
答案: 【 沿周向固定并传递扭矩】
13、单选题:
花键的主要缺点是( )
选项:
A: 应力集中
B: 成本高
C: 对中性与导向性差
D: 对轴削弱
答案: 【 成本高】
14、单选题:
19. 在键的连接中工作面是上下两个面的是( )
选项:
A: 普通平键
B: 楔键
C: 半圆键
D: 其他键
答案: 【 楔键】
15、单选题:
一个普通平键的标记为:键12X80 GB1096-2003,此键的类型为( )
选项:
A: 圆头普通平键
B: 方头普通键
C: 半圆头普通平键
D: 其他平键
答案: 【 圆头普通平键】
16、单选题:
销连接的主要作用是( )
选项:
A: 定位
B: 装配时的辅助零件
C: 安全装置
D: 其他
答案: 【 定位】
17、单选题:
标准件圆锥销的锥度( )
选项:
A: 1:60
B: 1:50
C: 1:40
D: 60:1
答案: 【 1
备案号:冀ICP备20010840号 2020-2099辉辉网络科技 All Rights Reserved