

1、单选题:


选项:
A: pA>pB
B: pA<pB
C: pA=pB
D: 不能确定
答案: 【 pA=pB】
2、判断题:
质点系中各质点都处于静止时,质点系的动量为零。于是可知如果质点系的动量为零,则质点系中各质点必都静止。
选项:
A: 正确
B: 错误
答案: 【 错误】
1、单选题:
人重P1,车重P2,置于光滑水平地面上,人可在车上运动,系统开始时静止。则不论人采用何种方式(走,跑)从车头运动到车尾,车的______________________。
选项:
A: 位移是不变的
B: 速度是相同的
C: 质心位置是不变的
D: 末加速度是相同的
答案: 【 位移是不变的】
2、单选题:
系统在某一运动过程中,作用于系统的所有外力的冲量和的方向与系统在此运动过程中______________的方向相同。
选项:
A: 力
B: 动量
C: 力的改变量
D: 动量的改变量
答案: 【 动量的改变量】
3、单选题:

选项:
A: (1)
B: (2)
C: (3)
D: (4)
答案: 【 (3)】
4、判断题:
质心的加速度只与质点系所受外力的大小和方向有关,而与这些外力是否作用在质心上无关。
选项:
A: 正确
B: 错误
答案: 【 正确】
5、判断题:
若质点系的动量在x方向的分量守恒,则该质点系的质心的速度在x轴上的投影保持为常量。
选项:
A: 正确
B: 错误
答案: 【 正确】
1、判断题:
质点系对于任一动点的动量矩对时间的导数,等于作用于质点系的所有外力对同一点的矩的矢量和。
选项:
A: 正确
B: 错误
答案: 【 错误】
2、判断题:
若质点系的动量矩守恒,则其中每一部分的动量矩都必须保持不变。
选项:
A: 正确
B: 错误
答案: 【 错误】
1、单选题:

选项:
A: 轴z’和轴z必须互相平行
B: 轴z必须通过质心
C: 轴z’和轴z互相平行,且轴z’必须通过刚体质心
D: 轴z’和轴z互相平行,且轴z必须通过刚体质心
答案: 【 轴z’和轴z互相平行,且轴z必须通过刚体质心】
2、单选题:
已知均质滑轮重P0=200N,物块A重P1=200N,B重P2=100N,拉力F2=100N,系统从静止开始运动,任一瞬时图(a)系统的物块A有加速度a1,图(b)系统的物块A有加速度a2,则_________。

选项:
A: a1>a2
B: a1<a2
C: a1=a2
D: a1>a2或a1=a2
答案: 【 a1<a2】
3、单选题:
均质杆长L,重P,均质圆盘直径D=L,亦重P,均放置在铅垂平面内,并可绕O轴转动。初始时杆轴线和圆盘直径均处于水平位置,而后无初速释放,则在达到图示位置瞬时,杆的角速度w1________圆盘的角速度w2


选项:
A: 大于
B: 小于
C: 等于
D: 小于或等于
答案: 【 大于】
4、单选题:
均质杆长L,重P,均质圆盘直径D=L,亦重P,均放置在铅垂平面内,并可绕O轴转动。初始时杆轴线和圆盘直径均处于水平位置,而后无初速释放,则在达到图示位置瞬时,杆的角加速度a1________圆盘的角加速度a2

选项:
A: 大于
B: 小于
C: 等于
D: 小于或等于
答案: 【 大于】
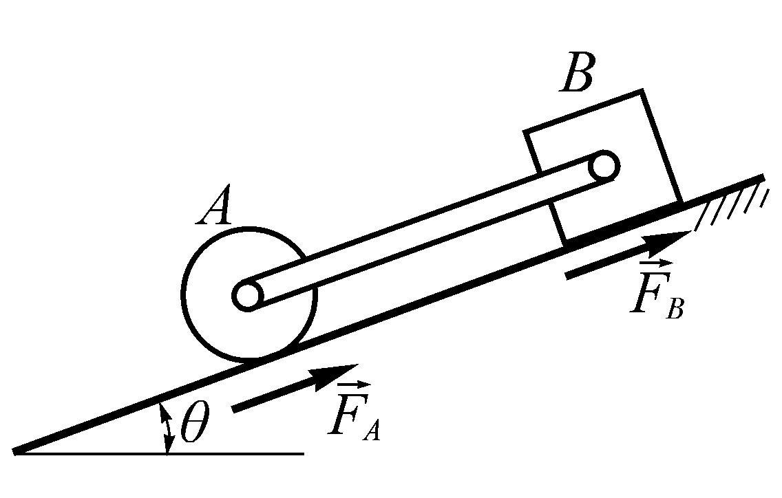
5、单选题:
均质圆盘和滑块的质量均为m,AB杆平行于斜面,圆盘在倾角为q的斜面上作纯滚动,杆重不计。圆盘、滑块与斜面间的静、动摩擦因数均为f,受到的摩擦力分别为FA,FB,则_____________。

选项:
A: FA=fmgcosq,FB=fmgcosq
B: FA<fmgcosq,FB<fmgcosq
C: FA=fmgcosq,FB<fmgcosq
D: FA<fmgcosq,FB=fmgcosq
答案: 【 FA<fmgcosq,FB=fmgcosq】
1、单选题:


选项:
A: 
B: 
C: 
D: 
答案: 【
】
2、单选题:
重刚杆AB两端各固连一个小球(可视为质点),其质量分别为m1,m2。若m1>m2,不计空气阻力,则当AB在重力作用下由水平静止位置进入运动后,______________落地。

选项:
A: 两端同时
B: A端先
C: B端先
D: A、B均有可能先
答案: 【 两端同时】
1、单选题:
略去质量的弹簧原长为2L,刚度为k,两端固定并处于水平位置,在弹簧中点挂一重物,则重物下降x路程中弹性力所作的功为____________________。

选项:
A: 
B: 
C: 
D: 
答案: 【
】
2、判断题:
机车由静止到运动过程中,作用于主动轮上向前的摩擦力作正功。
选项:
A: 正确
B: 错误
答案: 【 错误】
1、单选题:
图示三棱柱重P1,放在光滑的水平面上,重P2的均质圆柱体静止释放后沿斜面作纯滚动,则系统在运动过程中_______________。

选项:
A: 动量守恒,机械能守恒
B: 沿水平方向动量守恒,机械能守恒
C: 沿水平方向动量守恒,机械能不守恒
D: 动量、机械能均不守恒
答案: 【 沿水平方向动量守恒,机械能守恒】
2、判断题:
当质点作匀速圆周运动时,质点的动量、动能和对圆心的动量矩都保持不变。
选项:
A: 正确
B: 错误
答案: 【 错误】
1、判断题:
内力既不能改变质点系的动量和动量矩,也不能改变质点系的动能。
选项:
A: 正确
B: 错误
答案: 【 错误】
备案号:冀ICP备20010840号 2020-2099辉辉网络科技 All Rights Reserved